Branchements IP5000


Sommaire :

Niveau : Débutant


Branchement sans alimentation

La pieuvre IP5000 peut fonctionner sans alimentation si vous possédez un switch POE. Il suffit pour cela de brancher le câble RJ45 sur le port LAN de la pieuvre.

Branchement du câble RJ45 sur le port LAN de l'IP5000

Une fois branchée, l'écran de la pieuvre doit s'allumer.


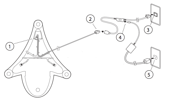
Branchement avec alimentation

Vous pouvez acheter l'alimentation pour la pieuvre en accessoire. Si c'est le cas, le branchement est alors différent :

Schéma de branchement de l'IP5000 avec alimentation
  1. Raccordez votre câble Ethernet sur le port LAN de votre pieuvre.
  2. Raccordez l'extrémité de votre câble Ethernet sur le port RJ45 de l'alimentation.
  3. Branchez le câble Ethernet mâle de l'alimentation sur votre switch ou routeur.
  4. Branchez le connecteur de l'alimentation sur le câble Ethernet de l'alimentation.
  5. Branchez la prise électrique sur circuit.

Aller plus loin

Échangez avec notre communauté d'utilisateurs.

Cette page vous a-t-elle aidé ?
🚀

Donnez votre avis sur la nouvelle documentation

Votre retour aide nos équipes à améliorer votre expérience.

2 minutes · Anonyme

Branchements IP5000

Webmail Mon compte client Support 🇫🇷 Francais Theme Langues 🇫🇷 Francais 🇫🇷 Francais 🇬🇧 English 🇩🇪 Deutsch 🇪🇸 Espanol 🇮🇹 Italiano 🇵🇱 Polski 🇵🇹 Portugues Menu Sur cette page Search ⌘K Documentation Beta Reference API Changelog produit E-Learning & certifications Migration Bare Metal Cloud Serveurs dedies Apercu Concepts cles Bare Metal 3-AZ Region - Presentation de l'offre Clients Kimsufi et So you Start - Se familiariser avec l'espace client OVHcloud Serveurs Dedies - Partage de responsabilites Comprendre le processus de demarrage des serveurs dedies Premiers pas Premiers pas avec un serveur dedie Premiers pas avec un serveur dedie Kimsufi, So You Start ou Rise Comment bien debuter avec les connexions SSH Comment creer et utiliser des cles d'authentification pour les connexions SSH aux serveurs OVHcloud Comment stocker les cles SSH dans votre espace client Comment utiliser la console IPMI avec un serveur dedie Comment obtenir l'empreinte carbone de vos services OVHcloud Configuration Systeme Configuration des comptes utilisateurs et de l'acces root sur un serveur Comment corriger la cle d’activation Windows Server Modifier le mot de passe administrateur sur un serveur dedie Windows Comment reinitialiser le mot de passe administrateur avec Rescue-Customer-Windows Comment gerer Intel SGX sur un serveur dedie Mise a niveau du materiel sur un serveur dedie High Grade ou Scale Comment assigner un tag a un serveur Bare Metal Installer VMware ESXi 8 sur un serveur dedie Stockage Gestion et reconstruction du RAID logiciel sur les serveurs en mode legacy boot (BIOS) Gestion et reconstruction d'un RAID logiciel sur les serveurs utilisant le mode de demarrage UEFI Gestion du RAID materiel Remplacement a chaud - RAID Materiel Remplacement a chaud - RAID logiciel Configurer votre MegaRAID en RAID 0 Configurer un miroir logiciel (RAID) sous Windows API OVHcloud et Stockage Configuration du stockage d'un serveur HGR-STOR-2 Creer un partitionnement Windows avec un Raid Hard Advance Dedicated Servers - Upgrading your Samsung NVMe PM9A1 firmware (EN) High Grade Dedicated Servers - Upgrading your SSD SAS Western Digital SS300 firmware (EN) High Grade Dedicated Servers - Upgrading your SSD SAS Western Digital SS530 firmware (EN) Serveurs Dedies - Mise a jour du firmware de votre SSD Solidigm D7-P5520 Serveurs Dedies - Mise a jour du firmware de votre Micron 7500 PRO (EN) Comment verifier la version du firmware BMC sur un serveur dedie Reseau Creer un DNS secondaire sur un serveur dedie Installer la cle SSH OVHcloud Configurer l’agregation de liens OLA dans votre espace client Comment configurer votre NIC pour la fonctionnalite OVHcloud Link Aggregation sur Debian 9 a 11 Comment configurer l'agregation de liens avec LACP dans Debian 12 ou Ubuntu 24.04 Configurer votre NIC pour la fonctionnalite OVHcloud Link Aggregation sur Windows Server 2019 Comment configurer votre NIC pour l’agregation de liens OVHcloud dans SLES 15 Tutoriel - Installer un serveur web (LAMP) sur Debian ou Ubuntu Gestion du reboot de vos serveurs avec la fonctionnalite OVHcloud Link Aggregation Configurer une adresse IPv6 principale sur un serveur dedie Configurer une adresse IPv6 sur une machine virtuelle Deplacer une Additional IP Configurer des Additional IP en mode bridge sur vos machines virtuelles Quelles sont les adresses IP du monitoring OVHcloud ? Configurer son adresse IP en alias Comment configurer le reverse DNS de votre serveur (enregistrement PTR) Determiner si la fonctionnalite des MAC virtuelles est supportee sur un serveur dedie Assigner une adresse MAC virtuelle a une Additional IP Configurer le reseau sur Windows Server avec Hyper-V Configurer le reseau sur Proxmox VE sur les gammes High Grade, Scale & Advance Augmenter et diminuer la bande passante d'un serveur dedie via l'API OVHcloud Amelioration de la resilience reseau sur les serveurs Bare Metal vRack Configurer le vRack sur vos serveurs dedies Configuration des trames Jumbo dans le vRack Configurer un bloc Additional IP dans le vRack Configurer un bloc Additional IPv6 dans un vRack Modifier l'annonce d'un bloc IP dans le vRack Creer plusieurs VLAN dans le vRack Utiliser Hyper-V avec des adresses Additional IP sur un vRack Configurer le vRack entre Public Cloud et un serveur dedie Augmenter ou diminuer la bande passante privee (vRack) d'un serveur dedie via l'API OVHcloud Deploiements API OVHcloud et installation d'un OS Comparaison entre Bring Your Own Image (BYOI) et Bring Your Own Linux (BYOLinux) Bring Your Own Image (BYOI) Bring Your Own Linux (BYOLinux) Configurer un script iPXE personnalise pour demarrer votre serveur via l'API OVHcloud Migration Migrer les donnees d'un serveur dedie vers un autre Comment copier des donnees d’un serveur dedie vers un autre en utilisant rsync Tutoriels Tutoriel - Comment utiliser PuTTY pour les connexions SSH et l'authentification Tutoriel - Configurer le mode bridge sur pfSense Tutoriel - Installer un serveur web (LAMP) sur Debian ou Ubuntu Activer des Machines Windows utilisant Hyper-V sur un Windows Server sous licence OVHcloud Installer CUDA sur un serveur dedie GPU Sauvegarder mes informations et mes bases de donnees dans un serveur de stockage Comment utiliser le SFTP pour transferer des fichiers Comment creer un serveur compatible avec Palworld Installer un environnement de developpement web sur un VPS ou un serveur dedie Comment deployer et verifier un OpenNebula Hosted Cloud sur des serveurs Bare Metal Installer CloudPanel sur un VPS ou un serveur dedie Installer WordPress avec Docker sur un VPS ou un serveur dedie Installer WordPress avec WP-CLI sur un VPS ou un serveur dedie Comment installer ISPmanager sur un VPS ou un Serveur Dedie Comment eviter que vos e-mails ne soient marques comme spam Securite Durcissement Securiser un serveur dedie Securiser un serveur avec service Memcached How to mitigate the Zenbleed vulnerability How to mitigate the Downfall vulnerability How to mitigate the Inception vulnerability Find your patch for Meltdown and Spectre Information about Meltdown and Spectre vulnerability fixes AMD SME/SEV sur Ubuntu 20 Specifications de securite du service Serveurs Dedies Maitriser et securiser votre serveur dedie ESXi des son premier demarrage Serveurs dedies ESXi - FAQ Sauvegarde Preparer une sauvegarde de serveur Bare Metal avec Veeam Enterprise Sauvegarder un serveur Bare Metal Linux avec Veeam Enterprise Sauvegarder un serveur Bare Metal Windows via Veeam Agent pour Windows Restaurer un serveur Bare Metal avec Veeam Enterprise Utiliser Backup Storage sur un serveur dedie Reseau OVHcloud AntiSpam - Bonnes pratiques et deblocage d'une adresse IP Configurer le pare-feu sous Linux avec Iptables Configurer le pare-feu sous Windows Activer et configurer le Edge Network Firewall Proteger un serveur Game avec le firewall applicatif Monitoring des attaques DDoS avec le Network Security Dashboard Comment configurer l'infrastructure Anti-DDoS pour Solana Diagnostic Comment recuperer l'acces au serveur en cas de perte du mot de passe de l'utilisateur Activer et utiliser le mode rescue Comment activer et utiliser le mode rescue Windows Remplacer une paire de cles SSH Remplacer un disque defectueux Diagnostiquer des dysfonctionnements materiels sur un serveur dedie Recuperer le numero de serie d'un disque dur Finaliser une intervention de maintenance realisee sur votre serveur dedie Desinstaller le systeme de monitoring RTM v2 Recuperation des bases de donnees en mode rescue Reseau - Resolution des problemes de telechargements lents dans les conteneurs et les machines virtuelles executees sur les serveurs Proxmox VE avec les cartes reseau Broadcom BCM57502 Serveurs prives virtuels Apercu Premiers pas Premiers pas avec un VPS VPS - Gestion depuis l'espace client OVHcloud FAQ sur les VPS OVHcloud Configuration des comptes utilisateurs et de l'acces root sur un serveur Comment bien debuter avec les connexions SSH Comment creer et utiliser des cles d'authentification pour les connexions SSH aux serveurs OVHcloud Comment stocker les cles SSH dans votre espace client Comment faire evoluer les ressources d'un VPS Repartitionner un VPS apres un upgrade de stockage Premiers pas avec les applications preinstallees Comment utiliser la console KVM pour acceder a un VPS Gerer un VPS legacy Configuration Sauvegardes Utiliser le snapshot Comment utiliser les sauvegardes automatisees sur un VPS Configurer un disque additionnel Augmenter la taille d’un disque additionnel Reseau et IP Configurer l'IPv6 sur un serveur VPS Comment configurer le reverse DNS de votre serveur (enregistrement PTR) Configurer une adresse IP en alias Configurer un DNS secondaire OVHcloud sur un VPS Utilisation avancee Deployer cPanel sur un VPS Sauvegarde automatique - Kernel panic (cPanel) Migration Comment migrer un site web d'un VPS vers un serveur dedie ou une instance Public Cloud Comment migrer une configuration n8n entre deux VPS Tutoriels Tutoriel - Comment utiliser PuTTY pour les connexions SSH et l'authentification Comment utiliser le SFTP pour transferer des fichiers Recuperation des bases de donnees en mode rescue Comment creer un serveur Minecraft sur un VPS ou un serveur dedie Comment creer un serveur compatible avec Palworld Tutoriel - Installer un serveur web (LAMP) sur Debian ou Ubuntu Installer un environnement de developpement web sur un VPS ou un serveur dedie Installer CloudPanel sur un VPS ou un serveur dedie Installer WordPress avec Docker sur un VPS ou un serveur dedie Installer WordPress avec WP-CLI sur un VPS ou un serveur dedie Automatiser le deploiement de votre site web sur votre VPS via GitHub Actions Automatiser le deploiement de votre site web sur votre VPS via GitLab CI/CD Comment installer n8n sur un VPS OVHcloud Comment migrer une configuration n8n entre deux VPS Automatiser l'envoi de SMS avec n8n via l'API OVHcloud Comment creer et importer un site web Lovable sur un VPS OVHcloud Comment installer un agent IA sur un VPS OVHcloud Comment installer ISPmanager sur un VPS ou un Serveur Dedie Comment installer Docker et Docker Compose sur un VPS Installer Nextcloud sur un VPS OVHcloud avec Docker Installer Nextcloud sur un VPS OVHcloud avec Docker et Traefik Comment installer OpenClaw sur un VPS Comment automatiser les sauvegardes serveur avec Plakar Securite Securiser un VPS Comment installer un certificat SSL sur un VPS Configurer le pare-feu sous Linux avec Iptables Configurer le pare-feu sous Windows Diagnostic Verifier le systeme de fichiers sur un VPS VPS - Activer les logs de demarrage Windows Afficher les logs de boot dans le KVM Activer et utiliser le mode rescue sur un VPS Comment recuperer l'acces au serveur en cas de perte du mot de passe de l'utilisateur Changer le mot de passe administrateur sur un serveur Windows Remplacer une paire de cles SSH Comment eviter que vos e-mails ne soient marques comme spam Ressources additionnelles Public Cloud & VPS - Cycle de vie et annonces de fin de vie/support des images et distributions Fin du support Plesk et cPanel pour VPS - Assurer la continuite de vos services Managed Bare Metal Apercu Services et options OVHcloud Mise en œuvre d'un VPN pour votre PRA Zerto OVHcloud Restaurer des sauvegardes via les API OVHcloud Activer et utiliser Veeam Managed Backup Changer la politique d’acces au vCenter Autoriser des IP a se connecter au vCenter FAQ Capacites techniques Fonctionnalites OVHcloud Ajout de bloc IP Snapshots horaires OVHcloud Changement du mot de passe utilisateur Creation de VLAN Utiliser votre infrastructure Managed Bare Metal au sein d’un vRack Hote de spare Supprimer un serveur hote Supprimer un datastore Changer les droits d’un utilisateur Ajouter une ressource a l’heure Associer un email a un utilisateur vSphere Utiliser le plugin OVH Network Comment resilier votre offre Managed Bare Metal Premiers pas Presentation de l'espace client Managed Bare Metal OVHcloud Configurer une IP sur une machine virtuelle Bonnes pratiques de securite sur le client vSphere Web Se connecter a l’interface vSphere Migrer une infrastructure vers un nouveau vDC Migrer une infrastructure vers Managed Bare Metal Gestion des machines virtuelles Modifier les ressources d’une machine virtuelle Creer un snapshot Creer une alerte Cloner une VM Quel format de disque choisir Installation des VMware Tools Deployer un template OVF Linux, Windows Server et Windows SQL Server Deploiement d’une machine virtuelle Comment eviter le passage en lecture seule du disque de votre VM sous Linux Fonctionnalites de VMware vSphere VMware vMotion VMware Storage vMotion VMware HA (High Availability) VMware Fault Tolerance VMware DRS (Distributed Ressource Scheduler) Activation du chiffrement des machines virtuelles (VM Encryption) Utilisation SDK vSphere Hosted Private Cloud Public VCF as-a-Service Apercu Concepts cles Capacites techniques Cycle de vie de la solution VMware on OVHcloud Cycle de vie du VMware on OVHcloud - Determiner les actions a entreprendre Partage de responsabilite sur le service Hosted Private Cloud by VMware Datamotive - Introduction Public VCF as-a-Service - Les concepts fondamentaux de Public VCF as-a-Service Capacites techniques et limites de Public VCF as-a-Service Premiers pas Presentation de l'espace client Hosted Private Cloud OVHcloud Se connecter a l’interface web vSphere Connexion a l’API OVH Public VCF as-a-Service - Se connecter a son organisation Public VCF as-a-Service - Decouvrez comment utiliser l'interface utilisateur de Public VCF as-a-Service Configuration Comment connecter une image ISO a une VM Deconnecter l'image ISO d'une VM Configurer une IP sur une machine virtuelle Public VCF as-a-Service - Concepts reseaux et bonnes pratiques Public VCF as-a-Service - Creation de composants reseaux via Public VCF as-a-Service Public VCF as-a-Service - Liaison d'un bloc IP public avec vRack Public VCF as-a-Service - Declarer la passerelle IP publique dans VCD Migration Migrer une infrastructure vers Hosted Private Cloud Migrer une infrastructure vers un nouveau vDC Gestion de la fin de vie des stockages LV1 and LV2 Public VCF as-a-Service - Migration depuis VMware vSphere on OVHcloud Public VCF as-a-Service - Configuration reseau apres migration de vSphere vers Public VCF as-a-Service Politique de reversibilite du produit Managed Mutualized Virtualization Tutoriels Public VCF as-a-Service - Creation d'une nouvelle machine virtuelle Public VCF as-a-Service - Sauvegarde avec Veeam Data Platform Securite Diagnostic Ressources additionnelles Questions frequentes Comment obtenir l'empreinte carbone de vos services OVHcloud Public VCF as-a-Service - FAQ Managed VMware Concepts cles SPN - Presentation du concept Presentation des concepts Premiers pas Premiers pas avec NSX Activer NSX-T dans un Hosted Private Cloud VMware on OVHcloud Introduction a vRealize Operations - vROPS Mise en route de votre vSphere SecNumCloud Configuration Machines virtuelles Deploiement d’une machine virtuelle Installation des VMware Tools Quel format de disque choisir Modifier les ressources d’une machine virtuelle Comment eviter le passage en lecture seule du disque de votre VM sous Linux Activation du mode promiscuite sur une machine virtuelle Modifier la valeur de la MTU pour les machines qui communiquent avec la OVHcloud Gateway SSL Deployer un template OVF a travers les bibliotheques de contenu (content libraries) Deployer un template OVF Linux, Windows Server et Windows SQL Server OVF Tool Stockage et ressources Comment ajouter de l'espace de stockage ? Comment ajouter un hote ? Supprimer un datastore Supprimer un serveur hote Televerser un ISO dans un datastore Reseau et connectivite Creation de VLANs Compatibilite du vRack avec Hosted Private Cloud Activer la Private Gateway Ajout de bloc IP Hote de spare Gestion des segments dans NSX Configuration du DHCP dans NSX Configuration du redirecteur DNS dans NSX Ajouter une nouvelle passerelle Tier-1 Gateway dans NSX Fonctionnalites vSphere Utilisation SDK vSphere Gerer les droits granulaires sur les objets vSphere Creation de cluster et activation EVC Sauvegarde et replication Activer et utiliser Veeam Managed Backup Utiliser Zerto Virtual Replication entre deux datacenters OVHcloud Mettre en place une replication Zerto multi-site sur OVHcloud Managed vSphere Utiliser Zerto entre OVHcloud et une plateforme tierce Chiffrement des taches de sauvegarde avec Veeam et OKMS Eviter le gel de la machine virtuelle avec l'option Veeam Backup Managed Migration Migrer les datastores OmniOS Move2Cloud - Migrer des workloads VMware vers OVHcloud Hosted Private Cloud avec Veeam Replication Move2Cloud - Migration de charges de travail VMware vers OVHcloud Hosted Private Cloud avec Zerto Move2Cloud - Migration de charges VMware vers OVHcloud SecNumCloud avec Veeam Replication Move2Cloud - Migration de charges de travail VMware vers OVHcloud Hosted Private Cloud SecNumCloud avec Zerto Tutoriels Machines virtuelles Creer un snapshot Cloner une VM Reenregistrer des VM dans un nouveau PCC Diagnostiquer une VM trop lente Creer une alerte VMware vCenter Converter Stockage et replication Snapshots horaires OVHcloud ZMotion Restaurer des sauvegardes via les API OVHcloud Supprimer la copie d'une VM du site de recuperation Zerto Veeam Cloud Connect - Comment migrer les donnees de Veeam Cloud Connect vers Object Storage Reseau et NSX Utiliser le plugin OVH Network Utiliser le Hosted Private Cloud au sein d’un vRack Utiliser le plugin OVHcloud dans vSphere Mise en place du NAT pour des redirections de ports avec NSX Configuration du Load Balancing dans NSX Fonctionnalites vSphere Comprendre l'interface vScope VMware DRS (Distributed Resource Scheduler) VMware Storage vMotion Mettre en oeuvre l'hyperconvergence VMware avec vSAN Ajouter un serveur ESXi dans un cluster vSAN Mise a jour du format des disques vSAN Gestion de domaines de panne vSAN VMware vMotion Haute disponibilite et resilience VMware HA (High Availability) VMware Fault Tolerance Securite Gestion des identites et des acces IAM pour VMware on OVHcloud - Presentation et FAQ IAM pour VMware on OVHcloud - Comment activer IAM IAM pour VMware on OVHcloud - Comment creer un role vSphere IAM IAM pour VMware on OVHcloud - Comment associer un role vSphere a une politique IAM IAM pour VMware on OVHcloud - Comment associer un utilisateur a une politique IAM globale Comment utiliser les politiques IAM avec vSphere Changement du mot de passe utilisateur Associer un email a un utilisateur vSphere Chiffrement et gestion des cles vNKP - Activation du chiffrement des machines virtuelles Activation du chiffrement des machines virtuelles avec un KMS externe KMS for VMware on OVHcloud - Solution et cas d'usages pour chiffrer des VMs KMS pour VMware on OVHcloud - Configuration du chiffrement de VM Mise en route du KMS CipherTrust Manager Securite reseau (NSX) Gestion du pare-feu distribue dans NSX Gestion du pare-feu des passerelles dans NSX Mise en place d'un tunnel IPsec avec NSX Configurer le BGP entre deux PCC via NSX-T Renforcement du systeme et vulnerabilites Bonnes pratiques de securite sur le client vSphere Web Interface securisee Utilisation de la double authentification (2FA) sur votre infrastructure Private Cloud Autoriser des IP a se connecter au vCenter Verifier et bloquer la faille L1TF Verifier et corriger les failles Spectre/Meltdown sur vos hotes Utiliser le protocole SSLv3 sur Private Cloud Conformite et SecNumCloud Partage de responsabilite sur le service Hosted Private Cloud by VMware sous la qualification SecNumCloud VPN-SPN - Presentation du concept SPN Connector - Presentation du concept Diagnostic Maintenance et mises a jour VMware on OVHcloud - Les operations de maintenance Decaler une maintenance programmee sur votre Hosted Private Cloud Mise a jour des hotes avec vSphere Lifecycle Management (vLCM) VMware Update Manager Etendre un volume dans vSphere et dans un OS Tester la perte temporaire d'un hote via l'activation du mode resilience Supervision et journaux Configurer une alerte vROps via le protocole SMTP Logs Data Platform - Collecter les logs VMware on OVHcloud NSX-T: retrieving logs Comment lire et filtrer les logs NSX-T Suivi de la conformite Activation de la mise en conformite Healthcare (HDS) ou Payment Services (PCI DSS) Activer et gerer les licences Windows de vos machines virtuelles Comment corriger la cle d’activation Windows Server Ressources additionnelles NSX - FAQ Tarification et gestion des NSX Edges OVHcloud FAQ SecNumCloud Connectivity SNC Cloud Platform Premiers pas Mise en route de votre projet SNC Cloud Platform Comment sauvegarder une instance SNC Cloud Platform Comment sauvegarder un bucket Object Storage SNC Cloud Platform Bare Metal Pod Premiers pas Mise en route de votre Bare Metal Pod SecNumCloud On-Prem Cloud Platform Premiers pas Mise en route de votre OPCP Cycle de vie d'un nœud OPCP OPCP - Comment utiliser les API et obtenir les informations d'identification OPCP - Comment installer une instance depuis l'interface Horizon OPCP - Comment installer une instance depuis les API OpenStack OPCP - Comment configurer LACP sur un nœud OPCP - Comment configurer les ports Trunk sur un nœud OPCP - Comment configurer un RAID logiciel sur un nœud OPCP - Comment visualiser l'inventaire des nœuds Ressources additionnelles OPCP - Object Storage fonctionnalites et specifications Creation d'une image OpenStack personnalisee sur OPCP OPCP - Stockage Block Ceph RBD : Performance, Resilience et Scalabilite avec OpenStack Nutanix on OVHcloud Concepts cles Nutanix on OVHcloud - Documentation generale Compatibilite materielle Nutanix – Configurations OVHcloud Versions de Nutanix AOS supportees par OVHcloud Liste des licenses incluses Plan de Reprise d'Activite sous Nutanix Partage de responsabilite - Nutanix on OVHcloud Nutanix on OVHcloud - Cycle de vie Premiers pas Premiers pas avec votre cluster Nutanix Hyperconvergence Nutanix Redeploiement personnalise de votre Cluster Presentation du stockage sur Nutanix Importer des images ISO Gestion des machines virtuelles Gestion des alertes et des evenements Gestion des licences dans votre cluster de l’offre Nutanix on OVHcloud BYOL Reseau et securite Fonctionnement de la passerelle OVHgateway Ajouter une adresse IP publique a une nouvelle VM Upgrade de votre cluster Nutanix Mise a jour du firmware de votre cluster Nutanix Configuration Modifier le vRack d'un cluster Nutanix Isoler les machines de gestion de la production Configurer Nutanix Flow Remplacer la passerelle OVHgateway par un serveur dedie Remplacement de la passerelle OVHgateway Configuration du KMS avec Nutanix on OVHcloud Configurer HYCU Backup Configurer Veeam Backup pour Nutanix Migration Migration vers Nutanix via l'outil Nutanix Move Tutoriels Outils avances Activer des VM Windows installees sur Nutanix by OVHcloud Ajouter ou retirer un nœud dans un cluster Nutanix (Scale In/Out) Remplacement de Prism Central du mode Small au mode X-LARGE Mise en place de NCM Self Service (CALM) Mise en place de Nutanix Objects Securite Securisation de l'acces Web a Prism Central Interconnexion IPsec entre deux sites Interconnexion de clusters au travers du vRack Diagnostic Recuperer les informations de statut de votre installation Nutanix Ressources additionnelles Replication asynchrone ou NearSync au travers de Prism Element Replication avancee avec Leap Configuration d'un plan de reprise d'activite avec Metro Mise en place de Multicloud Snapshot Technology (MST) sur une infrastructure Nutanix on OVHcloud Configurer le Point-in-Time Backup de Prism Central vers un Object Storage OVHcloud compatible S3 SAP on OVHcloud Concepts SAP HANA on Bare Metal et serveurs d'application SAP sur VMware on OVHcloud Infrastructure SAP avec la solution VMware on OVHcloud Infrastructure SAP avec SAP HANA on Private Cloud qualifie SecNumCloud Premiers pas Installation de SAP HANA sur Bare Metal avec SLES 15 for SAP Deployer une machine virtuelle avec SAP HANA et OVHcloud Backint Agent pre-installes Deployer un SAProuter avec NSX Partage de responsabilite sur les solutions SAP on OVHcloud Deploiements automatises Deployer des machines virtuelles de serveur d'application SAP sur une solution VMware on OVHcloud avec Terraform Deployer des machines virtuelles de base de donnees SAP HANA sur une solution VMware on OVHcloud avec Terraform Deployer une infrastructure d'un systeme SAP sur une solution VMware on OVHcloud avec Terraform Assistant de pre-installation SAP Resilience Cluster SAP HANA avec SLES sur VMware on OVHcloud Sauvegardes Installer et utiliser OVHcloud Backint Agent pour SAP HANA Utiliser OVHcloud Backint Agent avec plusieurs buckets Object Storage Historique des versions OVHcloud Backint Agent Sauvegarder SAP HANA avec Veeam Backup and Replication Observabilite SAP logs on OVHcloud Logs Data Platform - Configuration SAP logs on OVHcloud Logs Data Platform - Analysez et exploitez vos logs SAP logs on OVHcloud Logs Data Platform - Index des logs SAP Public Cloud Public Cloud - Informations generales Apercu Concepts cles Lexique Public Cloud Limites de debit des API Public Cloud Comparaison et resilience des modes de deploiement - Comprendre les regions 3-AZ / 1-AZ / Local Zones Resilience 3-AZ : Mecanismes et architectures de reference Comment fonctionnent les Savings Plans ? Premiers pas L'essentiel pour commencer avec Public Cloud Se familiariser avec l'interface Public Cloud Creer votre premier projet Public Cloud Commencer avec OVHcloud Shell Premiers pas avec la CLI OVHcloud Configuration Informations sur la facturation Augmenter les quotas Public Cloud Comment gerer un Savings Plan Gestion des projets Public Cloud Bonnes pratiques pour securiser et structurer les projets Public Cloud OVHcloud Supprimer un projet Public Cloud Deleguer des projets Migration Migration IaaS vers le Public Cloud - Etapes et bonnes pratiques Architectures de reference - Creer une Landing Zone avec OVHcloud Public Cloud Tutoriels Gestion via Horizon Presentation de Horizon Parametres d'acces et de securite dans Horizon Gestion via Openstack Preparer l’environnement pour utiliser l’API OpenStack Charger les variables d’environnement OpenStack Utilisation des tokens OpenStack Gestion des tokens Comment utiliser les comptes de service pour se connecter a OpenStack Gestion des utilisateurs OpenStack Gestion des regles de firewall et port security sur les reseaux utilisant OpenStack CLI Gestion via Terraform Comment utiliser Terraform sur le Public Cloud OVHcloud Securite Activation de la mise en conformite Healthcare (HDS) Diagnostic et depannage FAQ Public Cloud OVHcloud Ressources additionnelles Informations concernant le mode de facturation Public Cloud Utilisation correcte et limitations du stockage Classic Multi-Attach dans les regions 3AZ Comprendre les Landing Zones Comprendre les metriques dans OVHcloud Public Cloud Compute Apercu Concepts cles Public Cloud Instances - Concepts cles Premiers pas Ajouter du credit cloud Comment creer une instance Public Cloud et s'y connecter Gerer vos instances Public Cloud Comment demarrer une instance Public Cloud sur un volume amorcable Suspendre ou mettre en pause une instance Activer une licence Windows pour une instance en mode prive Premiers pas avec les applications preinstallees Configuration Gestion des projets Public Cloud Gestion de contacts d’un projet Instances Public Cloud - Passer d'une facturation horaire a mensuelle Gestion des instances Sauvegarder une instance Creer / restaurer un serveur virtuel a partir d’une sauvegarde Modifier le hostname d’une instance Public Cloud Comment activer le mode rescue sur une instance Public Cloud Passer une instance Metal en mode rescue Comment remplacer une paire de cles SSH sur une instance Public Cloud Deployer une instance GPU Configurer le reverse DNS d'une instance Public Cloud Redimensionner une instance via l'espace client OVHcloud Creer et utiliser un groupe de serveurs dans Horizon et CLI Gestion via Horizon Creer une instance depuis l'interface Horizon Gerer vos instances Public Cloud via Horizon Creer et configurer un groupe de securite dans Horizon Gestion des snapshots d’une instance dans horizon Creation, lancement et suppression d’images dans Horizon Redimensionner une instance via Horizon Basculer d'une instance flex a une instance classique Gestion via l'API OpenStack Debuter avec l’API OpenStack Debuter avec la gestion des volumes dans l’API Openstack Importez votre propre image Redimensionner une instance Public Cloud a l'aide du CLI OpenStack Telecharger et transferer la sauvegarde d'une instance d'une region OpenStack a une autre Lancer un script lors de la creation d’une instance Partager un objet avec une adresse temporaire Partager des images entre projets Public Cloud Migration Migration d’instances entre zones de disponibilite (AZ) Tutoriels Tutoriel - Comment utiliser PuTTY pour les connexions SSH et l'authentification Utiliser OVHcloud Object Storage comme Backend Terraform pour stocker votre etat (state) Terraform Using OVHcloud Object Storage as Pulumi Backend to store your Pulumi state Creer une image OpenStack personnalisee avec Packer Comment installer ownCloud sur une instance de Public Cloud? Comment installer Plesk sur une instance Public Cloud Installer WordPress sur une instance Installer l’agent Prometheus sur une instance Public Cloud Deployer automatiquement l'IPBX 3CX sur l'offre Public Cloud OVHcloud Tutoriel - Installer un serveur web (LAMP) sur Debian ou Ubuntu Creer un VPN-as-a-Service (VPNaaS) pour vos instances Local Zones avec Tailscale Enterprise File Storage - Connecter une instance Public Cloud a un volume EFS via le reseau prive vRack Securite Comment creer et utiliser des cles d'authentification pour les connexions SSH aux instances Public Cloud Comment configurer des cles SSH supplementaires sur une instance Changer le mot de passe administrateur sur un serveur Windows Mettre a jour votre systeme d'exploitation Diagnostic et depannage Forensics : comment faire des investigations sur une instance Public Cloud ? Reparer le bootloader GRUB Redimensionner le systeme de fichiers sur FreeBSD 12 Recuperation des bases de donnees en mode rescue FAQ - Changement du mode de facturation pour les instances au forfait mensuel Ressources additionnelles Public Cloud Instances - Partage des responsabilites Public Cloud & VPS - Cycle de vie et annonces de fin de vie/support des images et distributions Local Zone Compute - Fonctionnalites, capacites et limites Comment obtenir l'empreinte carbone de vos services OVHcloud Comment eviter que vos e-mails ne soient marques comme spam Storage and Backup Object Storage Compatible avec S3 Concepts cles Object Storage - Choisir une classe de stockage adaptee a vos besoins Object Storage - Endpoints et geo-disponibilite de l’Object Storage Comparaison des modes de deploiement Object Storage - Presentation des regions 3-AZ / 1-AZ / Local Zones Cold Archive - Presentation Premiers pas Object Storage - Premiers pas Cold Archive - Premiers pas avec Cold Archive Object Storage - Gestion des identites et des acces Configuration Object Storage - Premiers pas avec la gestion de versions Object Storage - Gestion intelligente du stockage avec des regles lifecycle Object Storage - Maitrisez la replication asynchrone sur vos buckets Object Storage - Server Access Logging Object Storage - Mettre en place CORS sur Object Storage Object Storage - Bucket ACL Object Storage - Heberger un site statique dans un bucket Object Storage Object Storage - Restaurer un objet archive depuis la classe Cold Archive Object Storage - Activer HTTPS sur un site web statique en utilisant un domaine personnalise Object Storage - Comment connecter mon bucket Object Storage avec d'autres ressources dans un reseau prive vRack Migration Object Storage - Comment migrer d'un fournisseur de stockage objet compatible S3 vers OVHcloud Object Storage Object Storage - Comment migrer un Object Storage Swift OVHcloud vers un Object Storage OVHcloud compatible S3 Tutoriels Object Storage - Utiliser Object Storage avec Rclone Object Storage - Utiliser Object Storage avec S3cmd Object Storage - Utiliser Object Storage avec WinSCP Object Storage - Utiliser Object Storage avec Veeam Object Storage - Utiliser Object Storage avec Nextcloud Object Storage - Utiliser Object Storage avec Owncloud Object Storage - Utiliser Object Storage avec Cohesity NetBackup Object Storage - Utiliser Object Storage avec Pure Storage Flashblade Object Storage - Gerer un bucket Object Storage avec Terraform Object Storage – Comment partager un objet ou fichier en externe Securite Object Storage - Chiffrez vos objets cote serveur avec SSE-C ou SSE-OMK Object Storage - Gestion de l'immuabilite des objets avec Object Lock (WORM) Object Storage - Gestion des identites et des acces Diagnostic et depannage Object Storage - FAQ Cold Archive - FAQ Object Storage - Specifications pour Local Zones Object Storage - Conformite Object Storage - Limites techniques Object Storage - Optimiser les performances Object Storage - Optimisez l'envoi de vos fichiers vers Object Storage Ressources additionnelles Object Storage - Partage des responsabilites Cold Storage - Shared Responsibility for archive and restoration services (EN) Object Storage - Compatibilite avec les applications tierces Swift Premiers pas Object Storage Swift - Creation de conteneur Object Storage Object Storage Swift - "Debuter avec l’API Swift" Object Storage Swift - Premiers pas avec l'API Swift S3 Configuration Object Storage Swift - Lier un conteneur a un nom de domaine Object Storage Swift - Synchroniser des conteneurs d’objets Object Storage Swift - Configurer la suppression automatique des objets Object Storage Swift - Mettre en place CORS sur Object Storage Cloud Archive Swift - Gerer ses archives depuis un client SFTP/SCP Cloud Archive Swift - Creation de conteneur Public Cloud Archive Cloud Archive Swift - Degeler vos donnees stockees sur Public Cloud Archive Cloud Archive Swift - Mettre en place une Access Control List sur Public Cloud Archive Migration Object Storage - Comment migrer un Object Storage Swift OVHcloud vers un Object Storage OVHcloud compatible S3 Tutoriels Object Storage Swift - Synchroniser un NAS Synology avec l’Object Storage Object Storage Swift - Utiliser S3QL pour monter un conteneur Object Storage Object Storage Swift - Utiliser l'Object Storage avec CyberDuck Object Storage Swift - Utiliser l'Object Storage avec rClone Object Storage Swift - Configure ownCloud with Object Storage Cloud Archive Swift - Gerer ses archives depuis un client Swift (Cyberduck) Cloud Archive Swift - Gestion de vos archives avec Rsync Securite Object Storage Swift - Mettre en place une Access Control List sur Object Storage Diagnostic et depannage Object Storage Swift - Compatibilite des API REST S3/Swift Object Storage Swift - Capacites et limitations Cloud Archive Swift - Capacites et limitations Object Storage Swift - Methode optimisee pour le telechargement de fichiers vers Object Storage Ressources additionnelles Object Storage Swift - Memo de commandes Curl Object Storage Swift - Memo de commandes Swift Cloud Archive Swift - Memo de commandes Curl Cloud Archive Swift - Memo de commandes Swift Block Storage Concepts cles Choisir la bonne classe de Block Storage Utilisation correcte et limitations du stockage Classic Multi-Attach dans les regions 3AZ Premiers pas Creer et configurer un disque supplementaire sur une instance Creer une sauvegarde d'un volume Creer un snapshot d'un volume Configuration Creer un volume a partir d'une sauvegarde Augmenter la taille d’un disque supplementaire Tester la vitesse des disques Migration Migrer un volume Block Storage vers un volume chiffre LUKS Modifier un Volume Block Storage Ressources additionnelles Public Cloud Block Storage - Partage des responsabilites File Storage Key concepts Premiers pas File Storage Service - Premiers pas (beta) Public Cloud Network Services Concepts cles Concepts - Reseau Public Cloud Concepts - Additional IP ou Floating IP Concepts - Load Balancer Public Cloud Network Services - Limites connues Premiers pas Private Network Creer un reseau prive avec une Gateway Configuration du vRack Public Cloud Configuration du vRack Public Cloud depuis les APIv6 OVHcloud Configuration du vRack Public Cloud a l'aide de l'OpenStack CLI Modifier les serveurs DNS d'une instance Public Cloud Load Balancer Premiers pas avec le service Load Balancer pour Public Cloud Public IPs Attacher une adresse Floating IP a une instance Public Cloud Configuration Private Network Comment partager un reseau prive entre 2 projets Public Cloud Comment etendre un reseau prive OVHcloud a travers les regions Public Cloud Mettre a jour les proprietes d'un sous-reseau (EN) Modifier la taille de la MTU pour les reseaux existants a l'aide des API/CLI OpenStack Load Balancer Deployer un Load Balancer Public Cloud Modifier la taille de votre Load Balancer via l’interface Horizon Utiliser la fonctionnalite de poids sur un membre du Load Balancer Transfert des logs (Logs Forwarding) TCP / HTTP / HTTPS du Load Balancer Public Cloud Public IPs Configurer une Additional IP Acheter une Additional IP Importer une Additional IP Basculer une Additional IP Gateway Configuration SNAT pour services L3 Configuration IPv6 sur une instance Public Cloud Configurer un bloc IP dans un vRack sur une instance Public Cloud Tutoriels General Securiser votre infrastructure OVHcloud avec Stormshield Network Security Securiser votre infrastructure OVHcloud avec Ubika WAAP Gateway Private Network Creer un VPN-as-a-Service (VPNaaS) pour vos instances Local Zones avec Tailscale Load Balancer Configurer un Load Balancer securise avec Let's Encrypt Securite Configurer un Load Balancer securise avec Let's Encrypt Configurer un listener TERMINATED_HTTPS via CLI / Horizon Securiser votre infrastructure OVHcloud avec Stormshield Network Security Securiser votre infrastructure OVHcloud avec Ubika WAAP Gateway Diagnostic et depannage Public Cloud Network Services - FAQ Ressources additionnelles Creation et gestion d'un Health Monitor pour le Load Balancer Public Cloud OVHcloud Creer et gerer des Policies et Regles de Niveau 7 (L7) pour les Load Balancers Public Cloud OVHcloud Mettre en place un monitoring du Load Balancer Public Cloud avec Prometheus (EN) Containers & Orchestration Managed Kubernetes Service (MKS) Apercu Concepts cles Comprendre l'architecture d'OVHcloud Managed Kubernetes Limites connues Choisir le bon plan OVHcloud Managed Kubernetes : Free ou Standard Available datacenters, worker nodes and persistent storage flavors Exposed APIs, Kubernetes configuration and Feature gates Premiers pas Creating a cluster Deploying an application Deploying a Hello World application Expose your app deployed on an OVHcloud Managed Kubernetes Service Installing the Kubernetes Dashboard on OVHcloud Managed Kubernetes Installing and using Helm on OVHcloud Managed Kubernetes Installing WordPress on OVHcloud Managed Kubernetes Deploying a GPU application on OVHcloud Managed Kubernetes Service Managed Kubernetes objects (services, deployments, pods...) Configuration Cluster Configuring kubectl on an OVHcloud Managed Kubernetes cluster Configuring the API server flags on an OVHcloud Managed Kubernetes cluster Resetting an OVHcloud Managed Kubernetes cluster Upgrading Kubernetes version on an OVHcloud Managed Kubernetes cluster Add IP restrictions on an OVHcloud Managed Kubernetes cluster Changing the security update policy on an OVHcloud Managed Kubernetes cluster Configuring the OIDC provider on an OVHcloud Managed Kubernetes cluster Personnaliser l'allocation IP sur un cluster OVHcloud Managed Kubernetes Nodepools & Nodes How to manage nodes and node pools on an OVHcloud Managed Kubernetes cluster Dynamically resizing a cluster with the cluster autoscaler Configuring the cluster autoscaler Adding Labels & Taint on Node Pool (Node Pool template) Cluster autoscaler example Deploy applications to specific Nodes and Nodes Pools Taint, cordon and drain specific Nodes and Nodes Pools Adapt your Inotify parameters for your Managed Kubernetes Service deployments Stockage Persistent Volumes on OVHcloud Managed Kubernetes Service Resizing Persistent Volumes Configuring multi-attach persistent volumes with OVHcloud NAS-HA Configuring multi-attach persistent volumes with Enterprise File Storage Configuring multi-attach persistent volumes with OVHcloud Cloud Disk Array Formating NVMe disks on IOPS nodes Reseau Using vRack Private Network Using vRack - Communicating between different private networks Using a custom gateway on an OVHcloud Managed Kubernetes cluster Working with vRack example - Managed Kubernetes and Public Cloud instances Working with vRack example - Communicating between different private networks Utilisation des Floating IP sur Managed Kubernetes Service Customizing Kube-proxy on an OVHcloud Managed Kubernetes cluster Customizing CoreDNS on an OVHcloud Managed Kubernetes cluster Personnaliser Cilium sur un cluster Managed Kubernetes OVHcloud Gestion du trafic Installing Nginx Ingress on OVHcloud Managed Kubernetes Expose your applications using OVHcloud Public Cloud Load Balancer Sticky sessions/Session Affinity based on Nginx Ingress on OVHcloud Managed Kubernetes Secure a Nginx Ingress with cert-manager on OVHcloud Managed Kubernetes Getting the source IP behind the LoadBalancer How to migrate from Load Balancer for MKS (IOLB) to Public Cloud Load Balancer (Octavia) Sauvegarde et restauration Backup and Restore OVHcloud Managed Kubernetes Cluster, Namespace and Applications using TrilioVault for Kubernetes Backing-up an OVHcloud Managed Kubernetes cluster using CloudCasa Backing up and restoring your Persistent Volume with Volume Snapshots on OVHcloud Managed Kubernetes Backing-up an OVHcloud Managed Kubernetes cluster using Velero Backing-up Persistent Volumes using Stash Surveillance et observabilite Monitoring apps with Prometheus and Grafana on an OVHcloud Managed Kubernetes Service Collect metrics from Public Cloud instances with Prometheus on an OVHcloud Managed Kubernetes Service Distributed tracing with Jaeger on an OVHcloud Managed Kubernetes Service Pushing logs from a Kubernetes cluster to Logs Data Platform using Fluent Bit Managed Kubernetes Service Audit Logs Forwarding Monitoring GPU usage on OVHcloud Managed Kubernetes Service Managed Kubernetes Service Audit Logs Forwarding Operateurs Installer l'operateur Kubernetes pour les bases de donnees Public Cloud (EN) Deploying a Kubernetes Operator based on Helm on OVHcloud Managed Kubernetes Deploying a Kubernetes Operator written in Golang on OVHcloud Managed Kubernetes Migration Guide de migration – Transferer votre cluster Kubernetes vers OVHcloud How to migrate from Load Balancer for MKS (IOLB) to Public Cloud Load Balancer (Octavia) Tutoriels Installing Agones on OVHcloud Managed Kubernetes Installing Jenkins on OVHcloud Managed Kubernetes Using Codefresh with OVHcloud Managed Kubernetes cluster Deploying Apache Pulsar on an OVHcloud Managed Kubernetes cluster How to install OpenFaaS CE on OVHcloud Managed Kubernetes Run Serverless containers on OVHcloud Managed Kubernetes with Knative Deploying Artifactory on an OVHcloud Managed Kubernetes cluster Enforcing policy management on OVHcloud Managed Kubernetes with Kyverno Scan for vulnerabilities and misconfigurations of your OVHcloud Managed Kubernetes with Trivy Near real-time threats detection with Falco on OVHcloud Managed Kubernetes Sanitize your OVHcloud Managed Kubernetes with Popeye Installing cert-manager on OVHcloud Managed Kubernetes Installing Keycloak, an OIDC Provider, on OVHcloud Managed Kubernetes Installing Istio on OVHcloud Managed Kubernetes Traffic management with Istio on OVHcloud Managed Kubernetes Securite Add IP restrictions on an OVHcloud Managed Kubernetes cluster Changing the security update policy on an OVHcloud Managed Kubernetes cluster Configuring the OIDC provider on an OVHcloud Managed Kubernetes cluster Encrypt your Secret for OVHcloud Managed Kubernetes with Sealed Secrets (Kubeseal) Using RBAC to handle limited access to an OVHcloud Managed Kubernetes cluster Diagnostic et depannage ETCD Quotas, usage, troubleshooting and error Troubleshooting permission errors when enabling persistence Ressources additionnelles Managed Kubernetes End-of-Sale, End-of-Service and End-of-Life policies Partage de responsabilite sur le service OVHcloud managed Kubernetes Politique de reversibilite du produit Orchestration Recommended external resources OVHcloud Managed Kubernetes - Features and roadmap Kubernetes Plugins (CNI, CRI, CSI...) & softwares versions and reserved resources Managed Private Registry (MPR) Apercu Premiers pas Creating a private registry Creating a private registry (Harbor) through Terraform Creating a private registry with Pulumi Creating and using a Docker image stored in an OVHcloud Managed Private Registry Connecting to the UI Managing users and projects Configuration Using Private Registry with OVHcloud Managed Kubernetes Managing Helm charts in the OVHcloud Managed Private Registry Deploying a Helm chart from your private registry in Kubernetes Configuring Proxy Cache on an OVHcloud Managed Private Registry Migrate Helm Charts from Chartmuseum to OCI Securite Configure the authentication via an OIDC provider on an OVHcloud Managed Private Registry Adding IP restrictions on an OVHcloud Managed Private Registry Sign OCI artifacts with Cosign on OVHcloud Managed Private Registry Scanning Docker images for vulnerabilities with OVHcloud Managed Private Registry Diagnostic et depannage FAQ Managed Private Registry (MPR) Ressources additionnelles Managed Private Registry - Responsibility model (EN) Politique de reversibilite du produit Managed OCI artifact Registry Managed Rancher Service (MRS) Apercu Premiers pas Getting Started with Managed Rancher Service Creating, updating and accessing a Managed Rancher Service (EN) Managing users and projects in Managed Rancher Service Importing an existing Kubernetes cluster in MRS Creating a Managed Kubernetes Service (MKS) cluster in MRS Creating a Kubernetes cluster based on OVHcloud Public Cloud Compute Instances in MRS Creating a Kubernetes cluster with existing nodes (Generic) in MRS Configuration Editing the configuration of a Kubernetes cluster in Managed Rancher Service Backing up and restoring a Kubernetes cluster in Managed Rancher Service Deploying a monitoring stack (Prometheus & Grafana) in a Kubernetes cluster in MRS Tutoriels How to use Rancher CLI Ressources additionnelles Managed Rancher Service supported versions and lifecycle policy Politique de reversibilite du produit Orchestration Bases de donnees Public Cloud Apercu PostgreSQL Apercu Concepts cles Politique de cycle de vie des bases de donnees Public Cloud (EN) FAQ des bases de donnees Public Cloud (EN) Capacites et Limitations des bases de donnees Public Cloud (EN) Capacites et limitations de Public Cloud Databases pour PostgreSQL (EN) Sauvegardes automatiques des bases de donnees Public Cloud (EN) Haute disponibilite et scenarios de panne de Public Cloud Databases pour PostgreSQL (EN) Premiers pas Premiers pas avec les bases de donnees Public Cloud (EN) Premiers pas avec les APIs des bases de donnees Public Cloud (EN) Premiers pas avec Terraform pour les bases de donnees Public Cloud (EN) Configurez les connexions entrantes d'un service Public Cloud Databases pour PostgreSQL (EN) Se connecter avec la CLI au service Public Cloud Databases pour PostgreSQL (EN) Se connecter depuis PHP au service Public Cloud Databases pour PostgreSQL (EN) Se connecter avec Python au service Public Cloud Databases pour PostgreSQL (EN) Se connecter depuis PgAdmin au service Public Cloud Databases pour PostgreSQL (EN) Configuration Creer et utiliser les pools de connexion avec Public Cloud Databases pour PostgreSQL (EN) Operations de maintenance des bases de donnees Public Cloud (EN) Configurer le reseau prive des bases de donnees Public Cloud (EN) Configurer les parametres avances des bases de donnees Public Cloud (EN) Parametres avances des Public Cloud Databases pour PostgreSQL (EN) Restaurer la sauvegarde d'une base de donnees Public Cloud (EN) Detecter et terminer les requetes de longue duree de Public CLoud Databases pour PostgreSQL (EN) Ajuster le stockage d'une base de donnees Public Cloud (EN) Mettre a jour la flavor d'une base de donnees Public Cloud (EN) Mettre a jour le plan d'une base de donnees Public Cloud (EN) Mettre en place le transfert de logs des bases de donnees Public Cloud (EN) Installer l'operateur Kubernetes pour les bases de donnees Public Cloud (EN) Configurer une integration interservices pour les bases de donnees Public Cloud (EN) Recuperez les metriques de service avec Prometheus pour les bases de donnees Public Cloud (EN) Activer la protection contre la suppression des bases de donnees Public Cloud (EN) Migration Migrer vers les bases de donnees Public Cloud OVHcloud Politique de reversibilite du produit Managed Relational Database Tutoriels Construire une application Strapi connectee a Public Cloud Databases pour PostgreSQL (EN) Installer et connecter Wagtail a Public Cloud Databases pour PostgreSQL (EN) Migrer une base de donnees sur site vers Public Cloud Databases pour PostgreSQL (EN) Securite Presentation de la securite des bases de donnees Public Cloud (EN) Partage des responsabilites des bases de donnees Public Cloud (EN) Diagnostic Depanner votre base de donnees Public Cloud (EN) Gerer des situations de 'Full Disk' pour les bases de donnees Public Cloud (EN) Ressources additionnelles Extensions disponibles pour Public Cloud Databases pour PostgreSQL MySQL Apercu Concepts cles Politique de cycle de vie des bases de donnees Public Cloud (EN) FAQ des bases de donnees Public Cloud (EN) Capacites et Limitations des bases de donnees Public Cloud (EN) Capacites et limitations de Public Cloud Databases pour MySQL (EN) Sauvegardes automatiques des bases de donnees Public Cloud (EN) Premiers pas Premiers pas avec les bases de donnees Public Cloud (EN) Premiers pas avec les APIs des bases de donnees Public Cloud (EN) Premiers pas avec Terraform pour les bases de donnees Public Cloud (EN) Configurez les connexions entrantes d'un service Public Cloud Databases pour MySQL (EN) Se connecter avec la CLI au service Public Cloud Databases pour MySQL (EN) Se connecter depuis PHP au service Public Cloud Databases pour MySQL (EN) Se connecter avec Python au service Public Cloud Databases pour MySQL (EN) Se connecter depuis Workbench au service Public Cloud Databases pour MySQL (EN) Configuration Operations de maintenance des bases de donnees Public Cloud (EN) Configurer le reseau prive des bases de donnees Public Cloud (EN) Configurer les parametres avances des bases de donnees Public Cloud (EN) Parametres avances des Public Cloud Databases pour MySQL (EN) Restaurer la sauvegarde d'une base de donnees Public Cloud (EN) Ajuster le stockage d'une base de donnees Public Cloud (EN) Mettre a jour la flavor d'une base de donnees Public Cloud (EN) Mettre a jour le plan d'une base de donnees Public Cloud (EN) Mettre en place le transfert de logs des bases de donnees Public Cloud (EN) Installer l'operateur Kubernetes pour les bases de donnees Public Cloud (EN) Configurer une integration interservices pour les bases de donnees Public Cloud (EN) Recuperez les metriques de service avec Prometheus pour les bases de donnees Public Cloud (EN) Activer la protection contre la suppression des bases de donnees Public Cloud (EN) Migration Migrer vers les bases de donnees Public Cloud OVHcloud Politique de reversibilite du produit Managed Relational Database Tutoriels Connecter Managed Kubernetes a Public Cloud Databases pour MySQL (EN) Securite Presentation de la securite des bases de donnees Public Cloud (EN) Partage des responsabilites des bases de donnees Public Cloud (EN) Diagnostic Depanner votre base de donnees Public Cloud (EN) Gerer des situations de 'Full Disk' pour les bases de donnees Public Cloud (EN) MongoDB Apercu Concepts cles Pourquoi choisir MongoDB ? (EN) Dimensionnement des clusters Public Cloud Databases pour MongoDB (EN) Meilleures pratiques de developpement avec Public Cloud Databases pour MongoDB Meilleures pratiques operationnelles avec Public Cloud Databases pour MongoDB Politique de cycle de vie des bases de donnees Public Cloud (EN) FAQ des bases de donnees Public Cloud (EN) Capacites et Limitations des bases de donnees Public Cloud (EN) Capacites et limitations de Public Cloud pour MongoDB (EN) Sauvegardes automatiques des bases de donnees Public Cloud (EN) Comprendre le format de l'URI des chaines de connection de Public Cloud Databases for MongoDB (EN) Premiers pas Premiers pas avec Public Cloud Databases pour MongoDB (EN) Premiers pas avec les bases de donnees Public Cloud (EN) Premiers pas avec les APIs des bases de donnees Public Cloud (EN) Premiers pas avec Terraform pour les bases de donnees Public Cloud (EN) Deployer un service avec Terraform pounr Public Cloud Databases pour MongoDB (EN) Configurez les connexions entrantes d'un service Public Cloud Databases pour MongoDB (EN) Se connecter avec la CLI au service Public Cloud Databases pour MongoDB (EN) Se connecter depuis PHP au service Public Cloud Databases pour MongoDB (EN) Se connecter avec Python au service Public Cloud Databases pour MongoDB (EN) Se connecter depuis Compass au service Public Cloud Databases pour MongoDB (EN) Outils de developpement de Public Cloud Databases pour MongoDB (EN) Surveillance des services Public Cloud Databases pour MongoDB (EN) Configuration Operations de maintenance des bases de donnees Public Cloud (EN) Configurer le reseau prive des bases de donnees Public Cloud (EN) Configurer les parametres avances des bases de donnees Public Cloud (EN) Restaurer la sauvegarde d'une base de donnees Public Cloud (EN) Sauvegarder et restaurer un service avec la CLI pour Public Cloud Databases pour MongoDB (EN) Ajuster le stockage d'une base de donnees Public Cloud (EN) Mettre a jour la flavor d'une base de donnees Public Cloud (EN) Mettre a jour le plan d'une base de donnees Public Cloud (EN) Mettre en place le transfert de logs des bases de donnees Public Cloud (EN) Installer l'operateur Kubernetes pour les bases de donnees Public Cloud (EN) Configurer une integration interservices pour les bases de donnees Public Cloud (EN) Recuperez les metriques de service avec Prometheus pour les bases de donnees Public Cloud (EN) Activer la protection contre la suppression des bases de donnees Public Cloud (EN) Migration Migrer vers les bases de donnees Public Cloud OVHcloud Migrer vers OVHcloud Public Cloud Databases pour MongoDB (EN) Relational Migrator pour Public Cloud Databases pour MongoDB (EN) Politique de reversibilite du produit Managed Document Database Tutoriels Developper et connecter une application Node.js a Public Cloud Databases for MongoDB (EN) Securite Presentation de la securite des bases de donnees Public Cloud (EN) Partage des responsabilites des bases de donnees Public Cloud (EN) Diagnostic Depanner votre base de donnees Public Cloud (EN) Gerer des situations de 'Full Disk' pour les bases de donnees Public Cloud (EN) Ressources additionnelles Configurer BI Connector pour Public Cloud Databases pour MongoDB (EN) Configurer un nœud Analytics pour Public Cloud Databases pour MongoDB (EN) Configurer une integration a Kafka pour Public Cloud Databases pour MongoDB (EN) Comprendre readPreference et writeConcern de Public Cloud Databases pour MongoDB (EN) Benchmark Public Cloud Databases pour MongoDB (EN) Valkey Apercu Concepts cles Politique de cycle de vie des bases de donnees Public Cloud (EN) FAQ des bases de donnees Public Cloud (EN) Capacites et Limitations des bases de donnees Public Cloud (EN) Capacites et limitations de Public Cloud Databases pour Valkey (EN) Sauvegardes automatiques des bases de donnees Public Cloud (EN) Premiers pas Premiers pas avec les bases de donnees Public Cloud (EN) Premiers pas avec les APIs des bases de donnees Public Cloud (EN) Premiers pas avec Terraform pour les bases de donnees Public Cloud (EN) Configurez les connexions entrantes d'un service Public Cloud Databases pour Valkey (EN) Se connecter avec la CLI au service Public Cloud Databases pour Valkey (EN) Se connecter avec PHP au service Public Cloud Databases pour Valkey (EN) Se connecter avec Python au service Public Cloud Databases pour Valkey (EN) Se connecter depuis RedisInsight au service Public Cloud Databases pour Valkey (EN) Configuration Operations de maintenance des bases de donnees Public Cloud (EN) Configurer le reseau prive des bases de donnees Public Cloud (EN) Configurer les parametres avances des bases de donnees Public Cloud (EN) Parametres avances de Public Cloud Databases pour Valkey (EN) Restaurer la sauvegarde d'une base de donnees Public Cloud (EN) Mettre a jour la flavor d'une base de donnees Public Cloud (EN) Mettre a jour le plan d'une base de donnees Public Cloud (EN) Gerer les ACL via l'API pour Public Cloud Databases pour Valkey (EN) Mettre en place le transfert de logs des bases de donnees Public Cloud (EN) Installer l'operateur Kubernetes pour les bases de donnees Public Cloud (EN) Configurer une integration interservices pour les bases de donnees Public Cloud (EN) Recuperez les metriques de service avec Prometheus pour les bases de donnees Public Cloud (EN) Activer la protection contre la suppression des bases de donnees Public Cloud (EN) Migration Migrer vers les bases de donnees Public Cloud OVHcloud Politique de reversibilite du produit Managed In-Memory Database Tutoriels Boostez votre CMS WordPress avec du cache avec Public Cloud Databases pour Valkey (EN) Securite Presentation de la securite des bases de donnees Public Cloud (EN) Partage des responsabilites des bases de donnees Public Cloud (EN) Diagnostic Depanner votre base de donnees Public Cloud (EN) Commun Concepts cles Politique de cycle de vie des bases de donnees Public Cloud (EN) FAQ des bases de donnees Public Cloud (EN) Capacites et Limitations des bases de donnees Public Cloud (EN) Sauvegardes automatiques des bases de donnees Public Cloud (EN) Premiers pas Premiers pas avec les bases de donnees Public Cloud (EN) Premiers pas avec les APIs des bases de donnees Public Cloud (EN) Premiers pas avec Terraform pour les bases de donnees Public Cloud (EN) Configuration Operations de maintenance des bases de donnees Public Cloud (EN) Configurer le reseau prive des bases de donnees Public Cloud (EN) Configurer les parametres avances des bases de donnees Public Cloud (EN) Restaurer la sauvegarde d'une base de donnees Public Cloud (EN) Ajuster le stockage d'une base de donnees Public Cloud (EN) Mettre a jour la flavor d'une base de donnees Public Cloud (EN) Mettre a jour le plan d'une base de donnees Public Cloud (EN) Mettre en place le transfert de logs des bases de donnees Public Cloud (EN) Installer l'operateur Kubernetes pour les bases de donnees Public Cloud (EN) Configurer une integration interservices pour les bases de donnees Public Cloud (EN) Recuperez les metriques de service avec Prometheus pour les bases de donnees Public Cloud (EN) Activer la protection contre la suppression des bases de donnees Public Cloud (EN) Migration Migrer vers les bases de donnees Public Cloud OVHcloud Politique de reversibilite du produit Managed Relational Database Politique de reversibilite du produit Managed Document Database Politique de reversibilite du produit Managed In-Memory Database Securite Presentation de la securite des bases de donnees Public Cloud (EN) Partage des responsabilites des bases de donnees Public Cloud (EN) Diagnostic Depanner votre base de donnees Public Cloud (EN) Gerer des situations de 'Full Disk' pour les bases de donnees Public Cloud (EN) Analytics Clickhouse Apercu Concepts cles Premiers pas Configuration Tutoriels Kafka Apercu Concepts cles Politique de cycle de vie des services Analytics (EN) Capacites et limitations des services Analytics (EN) Capacites et limitations pour Analytics avec Kafka (EN) Capacites et limitations pour Analytics avec Kafka Connect (EN) Capacites et limitations pour Analytics avec Kafka MirrorMaker (EN) Sauvegardes automatiques des services Analytics (EN) Premiers pas Premiers pas pour Analytics avec Kafka (EN) Premiers pas avec les services Analytics (EN) Premiers pas avec les APIs des services Analytics (EN) Premiers pas avec Terraform pour les services Analytics (EN) Configuration Operations de maintenance des services Analytics (EN) Configurer les parametres avances des services Analytics (EN) Parametres avances pour Analytics avec Kafka (EN) Parametres avances pour Analytics avec Kafka Connect (EN) Restaurer la sauvegarde d'un service Analytics (EN) Ajuster le stockage d'un service Analytics (EN) Mettre a jour la flavor d'un service Analytics (EN) Mettre a jour le plan d'un service Analytics (EN) Mettre en place le transfert de logs d'un service Analytics (EN) Installer l'operateur Kubernetes pour les services Analytics (EN) Recuperez les metriques avec Prometheus pour les services Analytics (EN) Migration Politique de reversibilite du produit Managed Message Broker Tutoriels Creer des applications 'publisher' et 'consumer' avec Analytics avec Kafka (EN) Securite Presentation de la securite des services Analytics (EN) Partage des responsabilites des services Analytics (EN) Diagnostic Depanner votre service Analytics (EN) Gerer des situations de 'Full Disk' pour les services Analytics (EN) OpenSearch OpenSearch - Guides OpenSearch – Capacites et limitations (EN) OpenSearch - Premiers pas (EN) OpenSearch - Surveillez votre infra (avec Logstash ou Fluent Bit) (EN) OpenSearch - References des parametres avances (EN) Dashboards Apercu Dashboards - Guides Dashboards - Capacites et limitations (EN) Dashboards - Configurez votre instance Dashboards pour accepter les connexions entrantes (EN) Dashboards - References des parametres avances (EN) Dashboards - Tutoriels Dashboards - Tutoriel - Exposez votre instance Dashboards dans votre reseau prive via un reverse proxy NGINX (EN) Dashboards - Tutorial - How to use the Grafana® API Commun Concepts cles Politique de cycle de vie des services Analytics (EN) Capacites et limitations des services Analytics (EN) Sauvegardes automatiques des services Analytics (EN) Premiers pas Premiers pas avec les services Analytics (EN) Premiers pas avec les APIs des services Analytics (EN) Premiers pas avec Terraform pour les services Analytics (EN) Configuration Operations de maintenance des services Analytics (EN) Configurer les parametres avances des services Analytics (EN) Restaurer la sauvegarde d'un service Analytics (EN) Ajuster le stockage d'un service Analytics (EN) Mettre a jour la flavor d'un service Analytics (EN) Mettre a jour le plan d'un service Analytics (EN) Mettre en place le transfert de logs d'un service Analytics (EN) Installer l'operateur Kubernetes pour les services Analytics (EN) Recuperez les metriques avec Prometheus pour les services Analytics (EN) Migration Politique de reversibilite du produit Managed Message Broker Politique de reversibilite du produit Managed Search Engine Software Platform Politique de reversibilite du produit Managed Data Visualization Securite Presentation de la securite des services Analytics (EN) Partage des responsabilites des services Analytics (EN) Diagnostic Depanner votre service Analytics (EN) Gerer des situations de 'Full Disk' pour les services Analytics (EN) AI & machine learning Apercu Informations generales Tableaux comparatifs - AI Notebooks, AI Training, AI Deploy (EN) Produits IA - Cycles de vie (EN) Donnees - Concepts et bonnes pratiques (EN) Donnees - Conformite entre les produits AI et Object Storage compatible S3 (EN) AI Dashboard - Premiers pas (EN) Utilisateurs - Gerer les utilisateurs AI et leurs roles (EN) Registres - Utiliser et gerer vos registres (EN) AI Tools - Connexion SSH a distance (EN) AI Tools - Suivre vos ressources cloud (EN) Produits IA - SDK ovhai (EN) Politique de reversibilite du produit AI Managed Container FAQ - Produits IA (EN) Command Line Interface CLI - Installation (EN) CLI - Memo des commandes (EN) CLI - Lancer un AI Notebook (EN) CLI - Lancer un job AI Training (EN) CLI - Se servir des tokens d'acces (EN) CLI - Lancer et partager un AI Notebook avec un token (EN) CLI - Commandes principales (EN) CLI - Commandes principales pour les donnees (EN) CLI - Utiliser vos donnees dans un notebook (EN) CLI - Lancer une app sur AI Deploy (EN) AI Notebooks Apercu AI Notebooks - Concepts cles AI Notebooks - Notebook concept (EN) AI Notebooks - Caracteristiques, capacites et limites (EN) AI Notebooks - Premiers pas AI Notebooks - Premiers pas (EN) AI Notebooks - Utilisation de l’espace Workspace (EN) AI Notebooks - Configuration AI Notebooks - Se servir de donnees dans un notebook via l'espace client (UI) (EN) AI Notebooks - Politique de reversibilite du produit Notebook Interface AI Notebooks - Tutoriels Audio/Speech AI Notebooks - Tutoriel - Analyse et classification audio avec l'IA (EN) AI Notebooks - Tutoriel - Utiliser le Speech-to-Text sur des audios et videos (EN) Computer vision AI Notebooks - Tutoriel - Entrainer YOLOv5 sur votre jeu de donnees (EN) AI Notebooks - Tutoriel - Entrainer YOLOv7 a reconnaitre la langue des signes (EN) AI Notebooks - Tutoriel - Entrainer YOLOv8 pour jouer a pierre papier ciseaux (EN) AI Notebooks - Tutoriel - Utiliser ResNet pour la classification d'images (EN) AI Notebooks - Tutoriel - Segmenter des tumeurs avec U-Net (EN) AI Notebooks - Tutoriel - Creer et entrainer un modele de generation d'images (EN) NLP AI Notebooks - Tutoriel - Analyse de sentiments en utilisant Hugging Face (EN) AI Notebooks - Tutoriel - Construire votre classificateur de spam (EN) Code assistant AI Notebooks - Utiliser un assistant de code (EN) Fine Tuning AI Notebooks - Tutoriel - Fine-Tuner et exporter un modele d'IA au format ONNX (EN) AI Notebooks - Tutoriel - Creer et entrainer un chatbot Rasa (EN) AI Notebooks - Tutoriel - Fine-tuner LLaMA 2 (EN) MLOps/Monitoring AI Notebooks - Tutoriel - Utiliser Tensorboard dans un notebook (EN) AI Notebooks - Tutoriel - Integration de Weights & Biases (EN) AI Notebooks - Tutorial - Suivez et comparez vos entrainements avec MLflow dans les notebooks (EN) AI Notebooks - Diagnostic et depannage AI Notebooks - Depannage (EN) AI Notebooks - Ressources additionnelles AI Notebooks - Facturation et cycle de vie (EN) AI Training Apercu AI Training - Concepts cles AI Training - Concept (EN) AI Training - Caracteristiques, capacites et limites (EN) AI Training - Premiers pas AI Training - Premiers pas (EN) AI Training - Demarrer un job avec une image Docker pour notebook (EN) AI Training - Tutoriel - Construire & utiliser une image Docker personnalisee (EN) AI Training - Tutoriel - Entrainez votre premier modele ML (EN) AI Training - Configuration AI Training - Tutoriel - Construire & utiliser une image Docker personnalisee (EN) AI Training - Tutoriels MLOps/Monitoring AI Training - Tutoriel - Utiliser le Tensorboard dans un job (EN) AI Training - Tutoriel - Comparer des modeles avec W&B pour la classification audio (EN) NLP AI Training - Tutoriel - Entrainer un chatbot Rasa dans un container Docker (EN) Audio/Signal processing AI Training - Tutoriel - Entrainez un modele a reconnaitre les sons des mammiferes marins (EN) Computer vision AI Training - Tutoriel - Entrainer YOLOv8 pour jouer a pierre papier ciseaux (EN) AI Training - Tutoriel - Transformer une video en modele 3D grace a NVIDIA Neuralangelo (EN) Model export/Inference AI Training - Tutoriel - Entrainer un modele PyTorch et l'exporter au format ONNX (EN) AI Training - Tutoriel - Premiers pas avec Triton Inference Server de NVIDIA et AI Training AI Training - Diagnostic et depannage AI Training - Depannage (EN) AI Training - Ressources additionnelles AI Training - Facturation et cycle de vie (EN) AI Deploy Apercu AI Deploy - Concepts cles AI Deploy - App concept (EN) AI Deploy - Caracteristiques, capacites et limites (EN) AI Deploy - Portfolio d'app (EN) AI Deploy - Strategies de mise a l'echelle (EN) AI Deploy - Premiers pas AI Deploy - Premiers pas (EN) AI Deploy - Configuration AI Deploy - Acceder a vos apps via tokens (EN) AI Deploy - Strategies de mise a l'echelle (EN) AI Deploy - Mettre a jour les images Docker personnalisees (EN) AI Deploy - Securite AI Deploy - Acceder a vos apps via tokens (EN) AI Deploy - Tutoriels AI Deploy - Tutoriel - Creer et utiliser une image Docker personnalisee (EN) AI Deploy - Tutoriel - Construire & utiliser une image Streamlit (EN) AI Deploy - Tutoriel - Deployer une app simple avec Flask (EN) AI Deploy - Tutoriel - Deployer une app de classification audio grace a Streamlit (EN) AI Deploy - Tutoriel - Deployer un service web pour YOLOv5 en utilisant Flask (EN) AI Deploy - Tutoriel - Deployer une app Gradio pour de la reconnaissance de schemas (EN) AI Deploy - Tutoriel - Deployer une app pour de l'analyse de sentiment avec Hugging Face et Flask (EN) AI Deploy - Tutoriel - Deployer une app interactive pour l'EDA et la prediction en utilisant Streamlit (EN) AI Deploy - Tutoriel - Deployer et appeler un classificateur de spam avec FastAPI (EN) AI Deploy - Tutoriel - Creer et deployer une application de Speech to Text (EN) AI Deploy - Tutoriel - Tester la charge de votre application avec Locust (EN) AI Deploy - Tutoriel - Deployer un chatbot Rasa avec une simple application Flask (EN) AI Deploy - Tutoriel - Creer un service web pour reconnaitre la langue des signes avec YOLOv7 (EN) AI Deploy - Tutoriel - Deployer une app de segmentation de tumeurs (EN) AI Deploy - Tutoriel - Deployer LLaMA 2 dans une application Streamlit (EN) AI Deploy - Tutoriel - Deployer un modele ONNX avec FastAPI (EN) AI Deploy - Tutoriel - Creer une application pour jouer a pierre papier ciseaux avec YOLOv8 (EN) AI Deploy - Tutoriel - Deployer le modele Whisper (EN) AI Deploy - Tutoriel - Deployer Stable Diffusion WebUI (AUTOMATIC1111) (EN) AI Deploy - Tutoriel - Deployer des modeles Text-to-Image FLUX (EN) AI Deploy - Diagnostic et depannage AI Deploy - Depannage (EN) AI Deploy - Ressources additionnelles AI Deploy - Facturation et cycle de vie (EN) AI Endpoints Apercu AI Endpoints - Concepts cles AI Endpoints - Caracteristiques, capacites et limites (EN) AI Endpoints - Sorties structurees AI Endpoints - Appel de fonctions AI Endpoints - API Responses (EN) AI Endpoints - Premiers pas AI Endpoints - Getting started AI Endpoints - Tutoriels AI Endpoints - Transcrire et resumer des fichiers audio (EN) AI Endpoints - Developper son assistant audio (EN) AI Endpoints - Modeles virtuels AI Endpoints - Transcription Audio Integrations AI Endpoints - Creer un assistant de code avec Continue (EN) AI Endpoints - Developper un chatbot en Python avec LangChain (EN) AI Endpoints - Developper un chatbot en JavaScript avec LangChain (EN) AI Endpoints - Creez votre propre chatbot IA a l'aide de LangChain4j et Quarkus (EN) AI Endpoints - Creer un chatbot de streaming avec LangChain4j et Quarkus (EN) AI Endpoints - Activer la memoire de conversation dans votre chatbot avec LangChain (EN) AI Endpoints - Developper un chatbot avec memoire en utilisant LangChain4j (EN) AI Endpoints - Developper un chatbot de discussion RAG avec LangChain (EN) AI Endpoints - Developper un chatbot de discussion RAG avec LangChain4j (EN) AI Endpoints - Utiliser les sorties structurees avec LangChain4j AI Endpoints - Utiliser les appels de fonctions avec LangChain4J AI Endpoints - Model Context Protocol (MCP) avec LangChain4j AI Endpoints - Integration en Python avec LiteLLM (EN) AI Endpoints - Integration avec Apache Airflow (EN) AI Endpoints - Integration avec Hugging Face Inference Providers (EN) AI Endpoints - Integration avec Pydantic AI (EN) AI Endpoints - Diagnostic et depannage AI Endpoints - Depannage (EN) AI Endpoints - Ressources additionnelles AI Endpoints - Facturation et cycle de vie (EN) AI Partners Ecosystem Apercu AI Partners - Concepts cles AI Partners Ecosystem - Voxist - Models concept (EN) AI Partners Ecosystem - Lettria - Models concept (EN) AI Partners - Premiers pas AI Partners Ecosystem - Lettria - Models features, capabilities and billing (EN) AI Partners Ecosystem - Voxist - Models features, capabilities and billing (EN) Quantum computing General information Quantum computing - Features, Capabilities and Limitations Quantum computing - Billing and lifecycle Quantum computing - Troubleshooting Quantum emulators Guides Quantum computing - Getting started with Emulators Notebooks Quantum QPUs Guides Quantum computing - Getting started with QPUs Notebooks Integrations Prefect Prefect - Premiers pas (EN) Prefect - Tutoriel - Notification d'emails avec blocs et automatisations (EN) Prefect - Tutoriel - Creer votre premier pipeline d'IA en lancant un entrainement de modele avec AI Training (EN) Data Platform Data Platform documentation Sign-up to OVHcloud Data Platform Web Cloud Domaines Apercu API Apercu Concepts cles Introduction Premiers pas Commander un nom de domaine Configuration Gestion des taches Gestion des contacts d'un nom de domaine Gestion des regles d'eligibilite Configurer l'affichage de ses donnees dans le Whois Configurer les DNS de son nom de domaine Migration Transferer un nom de domaine Noms de domaine Apercu Premiers pas FAQ sur les noms de domaine & DNS Comment creer un sous-domaine ? Rediriger un nom de domaine gere par OVHcloud Comment renouveler mon nom de domaine OVHcloud Comment obtenir des informations relatives a un nom de domaine avec le WHOIS Comment configurer l'affichage du WHOIS d'un nom de domaine ? Comment exporter la liste de vos noms de domaine en CSV Configuration Gestion des contacts des noms de domaine Nom de domaine - Comment changer le titulaire ? Nom de domaine - Gestion du contact titulaire Changer le titulaire d’un nom de domaine avec une Demande d'Operation AFNIC (DOA) Diagnostic Resoudre une erreur sur un nom de domaine Migration Transfert entrant vers OVHcloud Transferer son nom de domaine vers OVHcloud Transferer un nom de domaine .uk vers OVHcloud Transferer son nom de domaine en .pl vers OVHcloud Transferer un nom de domaine de Hostinger vers OVHcloud Transferer un nom de domaine de GoDaddy vers OVHcloud Transferer un nom de domaine de home.pl vers OVHcloud Transferer un nom de domaine Ionos vers OVHcloud Transferer un nom de domaine de O2Switch vers OVHcloud Transferer un nom de domaine de Gandi vers OVHcloud Transferer un nom de domaine de Wix vers OVHcloud Transfert sortant depuis OVHcloud Transferer un nom de domaine vers un autre bureau d'enregistrement Transferer un nom de domaine .uk vers un autre bureau d'enregistrement Tutoriels Connecter un nom de domaine OVHcloud a un Google Site Connecter un nom de domaine OVHcloud a Shopify Connecter un nom de domaine OVHcloud a SquareSpace Connecter un nom de domaine OVHcloud a Wix Connecter un nom de domaine OVHcloud a GoDaddy Connecter un nom de domaine OVHcloud a Webflow Comment utiliser un nom de domaine OVHcloud avec iCloud Mail DNS (Domain Name System) Apercu Concepts cles Tout savoir sur les serveurs DNS Tout savoir sur la zone DNS Tout savoir sur les enregistrements DNS Configuration Serveurs DNS Modifier les serveurs DNS d'un nom de domaine OVHcloud Changement des adresses IP des serveurs DNS OVHcloud Zone DNS Creer une zone DNS OVHcloud pour un nom de domaine Creer une zone DNS OVHcloud pour un sous-domaine Editer une zone DNS OVHcloud Gerer l’historique d'une zone DNS Comment supprimer une zone DNS OVHcloud Enregistrements DNS Ajouter un enregistrement DNS de type A pour un nom de domaine Ajouter un enregistrement DNS de type AAAA pour un nom de domaine Comment ajouter un enregistrement DNS de type CNAME pour un sous-domaine Ajouter un enregistrement DNS de type TXT pour un nom de domaine Configurer un enregistrement MX pour la gestion des emails Options DNS Activer les DNS Anycast pour votre nom de domaine Personnaliser les serveurs DNS d'un nom de domaine (Hotes) Parametrer un DNS dynamique (DynHost/DynDNS) pour votre nom de domaine Securite Ameliorer la securite des e-mails via un enregistrement SPF Ameliorer la securite des e-mails via un enregistrement DKIM Ameliorer la securite des e-mails via un enregistrement DMARC Securiser votre nom de domaine avec DNSSEC Tutoriels Tutoriel - Utilisation de Zonemaster Hebergements web Premiers pas Hebergement web - Activer l’hebergement gratuit 100M Comment bien debuter avec votre hebergement web Premiers pas avec un hebergement Cloud Web Premiers pas avec la solution Visibilite Pro Visualiser et gerer tous ses sites web depuis son espace client OVHcloud Comment creer un site web - Realiser votre projet en 5 etapes Hebergement Web - FAQ Mettre en ligne un site web sur son hebergement web Hebergement web - Activer les adresses e-mails incluses Hebergement web - Comment connaitre son cluster et son filer Comment retrouver le nom de votre offre d'hebergement web Configuration Partager son hebergement entre plusieurs sites Configurer et utiliser Git avec son hebergement web OVHcloud Hebergement web - Modifier un nom de domaine deja associe a un hebergement Hebergement web - Environnement, version PHP, « .ovhconfig » Configurez une adresse IPv6 pour votre site web Gerer les moteurs d’execution d’un hebergement Cloud Web Recuperer la sauvegarde de l'espace FTP de son hebergement Cloud Web Hebergement web - Comment faire evoluer son offre Accelerer mon site web en utilisant le CDN Hebergement web - Consulter les statistiques et logs d'un site web Hebergement web - Consulter les statistiques et logs CDN Comment geolocaliser un site web dans un pays specifique ? Optimisation des performances de votre site Creer des taches automatisees (CRON) sur votre hebergement web Comment creer et gerer une application web en utilisant l'API publique OVHcloud Bases de donnees Creer une base de donnees sur son hebergement web Modifier le mot de passe de la base de donnees d'un hebergement web Dupliquer le contenu d'une base de donnees dans une autre Recuperer la sauvegarde de la base de donnees d'un hebergement web Recuperer la sauvegarde d'une base de donnees supprimee Comment identifier le serveur de votre base de donnees FTP et SSH Hebergement web - Comment utiliser FileZilla Hebergement web - Comment gerer des utilisateurs FTP Se connecter a l’espace de stockage FTP de son hebergement web Hebergement web - Comment activer l'acces SFTP Modifier le mot de passe d'un utilisateur FTP Gerer son hebergement web avec Visual Studio Code via SFTP Tutoriel - Utiliser Cyberduck avec mon hebergement web Restaurer l'espace de stockage de son hebergement web Hebergement web - Comment utiliser l'acces SSH Tutoriel - Comment utiliser PuTTY pour les connexions SSH et l'authentification Utiliser SVN Hebergement web - Copier des fichiers avec la commande SCP CMS Installer votre site web avec un « module en 1 clic » (CMS) Comment changer le mot de passe administrateur d'un CMS Comment gerer votre module en 1 clic ? Migration Comment migrer un site web depuis un hebergement Web mutualise vers un VPS Importer une sauvegarde dans la base de donnees d'un hebergement web Exporter son site web Migrer son site web et ses services associes vers OVHcloud Migrer son site web Xara vers OVHcloud Migrer son site web WordPress vers OVHcloud Tutoriels Tutoriel - Creer sa page web personnelle chez OVHcloud Cas d'usage - Comment changer le domaine d'un site existant Tutoriel - Installation et configuration de Cecil, un generateur de sites statiques (SSG) en PHP Tutoriel - Ajouter du contenu dynamique dans une page web statique generee avec Cecil Installer Composer sur un hebergement web Tutoriels WordPress Tutoriel - Premiers pas sur WordPress Tutoriel - Sauvegarder votre site WordPress Tutoriel - Utiliser le fichier htaccess avec WordPress Tutoriel - Utiliser WooCommerce avec le CMS WordPress Administrer plusieurs sites web WordPress avec le plugin MainWP Sauvegarder ses sites web WordPress avec MainWP Ameliorer la securite de son site web avec le plugin MainWP pour WordPress Gerer les informations des clients de vos sites web WordPress avec MainWP Tutoriels Cloud Web Installer Ghost sur son hebergement Cloud Web Installer Etherpad sur son hebergement Cloud Web Comment installer Django CMS sur son hebergement Cloud Web Installer Camaleon CMS sur son hebergement Cloud Web Redirection et authentification Tutoriel - Proteger un repertoire ou l'interface d'administration de votre site web par des fichiers « .htaccess » et « .htpasswd » Tutoriel - Reecrire l'URL d'acces a mon site grace au mod_rewrite via le fichier .htaccess Tutoriel - Comment bloquer l'acces a mon site pour certaines adresses IP via un fichier .htaccess ? Tutoriel - Operations realisables avec un fichier « .htaccess » CMS Tutoriel - Installer manuellement un CMS sur mon hebergement Tutoriel - Installer manuellement WordPress Tutoriel - Installer manuellement Joomla! Tutoriel - Installer Pico sur son hebergement web OVHcloud Tutoriel - Installer manuellement PrestaShop Tutoriel - Installer manuellement Drupal Tutoriel - Installer Grav sur son hebergement web OVHcloud Tutoriel - Installer Typo3 sur son hebergement web OVHcloud Tutoriel - Installer Spip sur son hebergement web OVHcloud Securite Comment securiser un site Web ? Activation du pare-feu applicatif Hebergement web - Gerer un certificat SSL Hebergement web - Passer son site web en HTTPS Hebergement web - Activer un certificat SSL gratuit Let's Encrypt Hebergement web - Activer un certificat SSL Sectigo DV Hebergement web - Activer un certificat SSL Sectigo EV Hebergement web - Installer un certificat SSL personnalise Erreurs courantes liees a la securisation de votre site web avec le SSL Diagnostic Cas d'usage - Conseils suite au piratage de votre site Web Comment gerer la vulnerabilite HTTP/2 Rapid Reset (EN) Que faire si mon site est inaccessible ? Mon site est lent. Que faire ? Resoudre les erreurs les plus frequentes liees aux modules en 1 clic Que faire en cas d'erreur « Votre connexion n'est pas privee » ? Resoudre les erreurs les plus frequentes liees aux bases de donnees Resoudre l'erreur « Site non installe » Que faire en cas d’erreur 500 Internal Server Error ? Que faire en cas de page « Index of » ? Que faire en cas de page « 403 forbidden » ? Que faire si la page « Your IP has been banned » s'affiche ? Que faire si la page « Your request has been blocked » s’affiche ? Suivre et gerer les e-mails automatises de son hebergement web Comment reagir face a une activite anormale detectee sur votre hebergement web Hebergement web - Ma base de donnees est saturee, que faire ? Resoudre les erreurs recurrentes lors de l’utilisation d’un logiciel FTP Ressources additionnelles Hebergement web - Liste des adresses IP par cluster Specificites techniques liees aux hebergements mutualises Hebergement web - Versions disponibles des langages Politique de reversibilite du produit Managed Web Hosting Annonces de fin de vente/vie base de donnees SQL Migration de MySQL vers Percona Server pour MySQL Managed Hosting for WordPress Premiers pas Decouvrir le Managed Hosting for WordPress (version Beta) Video Center Premiers pas Video Center - Gerer vos videos en ligne SSL Gateway Premiers pas Commander un SSL Gateway Utiliser le SSL Gateway Web Cloud Databases Premiers pas Premiers pas avec le service Web Cloud Databases Demarrez avec MySQL et MariaDB Demarrez avec PostgreSQL Configuration Web Cloud Databases - Comment autoriser une adresse IP ? Creer vos bases de donnees et vos utilisateurs sur votre serveur de bases de donnees Web Cloud Databases - Modifier les droits d'un utilisateur Web Cloud Databases - Se connecter a une base de donnees Configurer votre serveur de bases de donnees Web Cloud Databases - Comment gerer les logs ? Delier ma solution Web Cloud Databases d'un hebergement web Migration Sauvegarder et exporter une base de donnees sur votre serveur de bases de donnees Restaurer et importer une base de donnees sur votre serveur de bases de donnees Ressources additionnelles Annonces de fin de vente/vie Web Cloud Databases Politique de fin de vie des bases de donnees managees Politique de reversibilite du produit Managed Database System for Web Hosting Solutions e-mail et outils collaboratifs Fonctionnalites communes aux offres e-mail Gerer la politique de securite d'un service e-mail Utiliser les alias et redirections e-mail Supprimer un compte e-mail Utilisation d’Outlook Web Application (OWA) Utiliser son adresse e-mail depuis le webmail Outlook Web App (OWA) Regles de boite de reception depuis l'interface OWA Mettre en place un repondeur automatique depuis l’interface OWA Partager un dossier depuis l'interface OWA Partager un calendrier depuis l'interface OWA Migration de services Migrer une adresse e-mail MX Plan vers un compte Email Pro, Exchange ou Zimbra Migrer manuellement votre adresse e-mail Migrer des comptes e-mail via OVHcloud Mail Migrator Migrer vos adresses e-mail d'une plateforme e-mail OVHcloud vers une autre Diagnostic et depannage Envoi ou reception des e-mails impossible Que faire en cas de compte bloque pour spam ? Recuperer l'en-tete et le fichier .eml d'un e-mail Gerer l'espace de stockage d'un compte e-mail Restaurer les elements supprimes de votre compte e-mail MX Plan Apercu Premiers pas Premiers pas avec l'offre MX Plan Creer une adresse e-mail avec son offre MX Plan Modifier le mot de passe d'une adresse e-mail Utiliser son adresse e-mail depuis le webmail Roundcube FAQ e-mails OVHcloud Utiliser le webmail Zimbra FAQ sur la solution Zimbra OVHcloud Fonctionnalites des adresses e-mail MX Plan - Creer une reponse automatique sur une adresse e-mail Gerer et utiliser les mailing lists Creer des filtres pour vos adresses e-mail MX Plan - Deleguer la gestion de vos comptes e-mails a une autre personne Configuration d'une application e-mail sur votre ordinateur MX Plan / Zimbra Starter - Configurer son adresse e-mail sur Outlook classique pour Windows MX Plan - Configurer son adresse e-mail sur Outlook pour macOS MX Plan - Configurer son compte e-mail sur Mail pour macOS MX Plan - Configurer son adresse e-mail sur Thunderbird pour Windows MX Plan - Configurer son adresse e-mail sur Thunderbird pour macOS MX Plan / Zimbra Starter - Ajouter un compte e-mail sur le nouvel Outlook pour Windows Configurer une application e-mail sur votre smartphone ou tablette MX Plan - Configurer son compte e-mail sur Mail pour iPhone et iPad MX Plan - Configurer une adresse e-mail dans Gmail pour Android MX Plan / Zimbra STARTER - Configurer Outlook pour Android MX Plan - Configurer son compte e-mail sur Outlook pour iOS Ajouter votre adresse e-mail a un service de messagerie existant MX Plan - Configurer son adresse e-mail sur l'interface en ligne de Gmail E-mail Pro Apercu Premiers pas Premiers pas avec la solution Email Pro Gerer la facturation de vos comptes Email Pro Deleguer des droits sur un compte e-mail Ajouter un pied de page pour vos comptes Exchange Configuration d'une application e-mail sur votre ordinateur Email Pro - Configurer un compte e-mail sur Outlook classique pour Windows Email Pro - Configurer son compte e-mail sur Outlook pour macOS Email Pro - Configurer son compte e-mail sur Mail pour macOS Email Pro - Configurer son compte Email Pro sur le nouvel Outlook pour Windows Email Pro - Configurer son adresse e-mail sur Thunderbird pour Windows Email Pro - Configurer son adresse e-mail sur Thunderbird pour macOS Configurer une application e-mail sur votre smartphone ou tablette Email Pro - Configurer son compte e-mail sur Mail pour iPhone et iPad Email Pro - Configurer une adresse e-mail dans Gmail pour Android Email Pro - Configurer son compte e-mail sur Outlook pour Android Email Pro - Configurer son compte e-mail sur Outlook pour iOS Ajouter votre adresse e-mail a un service de messagerie existant Email Pro - Configurer son adresse e-mail sur l'interface en ligne de Gmail Microsoft Exchange Apercu Premiers pas Premiers pas avec le service Hosted Exchange Premiers pas avec le service Private Exchange Private Exchange - Sauvegarder ses comptes e-mail avec Veeam Backup for Microsoft 365 Gerer la facturation de vos comptes Exchange Ajouter et gerer un nom de domaine sur une plateforme e-mail Ajouter un enregistrement CNAME pour valider votre domaine sur votre offre e-mail Partage de responsabilite du produit Serveur de messagerie manage sur une infrastructure mutualisee Partage de responsabilite du produit infrastructure de messagerie dediee managee Fonctionnalites d'un compte Exchange Exchange - Creer un groupe de contacts Deleguer des droits sur un compte e-mail Configurer la double authentification sur un compte Exchange Creer et utiliser des comptes de ressource Creer et utiliser un compte partage Ajouter un pied de page pour vos comptes E-mail Obtenir une licence Outlook pour Exchange Configurer un connecteur d'envoi sur votre plateforme Private ou Trusted Exchange Configuration d'une application e-mail sur votre ordinateur Exchange - Configurer son compte e-mail sur Outlook classique pour Windows Exchange - Configurer son compte e-mail sur Outlook pour macOS Exchange - Configurer son compte e-mail sur Mail de macOS Exchange - Configurer son compte e-mail sur Courrier pour Windows Exchange - Configurer son adresse e-mail sur Thunderbird pour Windows Exchange - Configurer son adresse e-mail sur Thunderbird pour macOS Configurer une application e-mail sur votre smartphone ou tablette Exchange - Configurer son compte e-mail sur Mail pour iPhone et iPad Exchange - Configurer une adresse e-mail dans Gmail pour Android Diagnostic et depannage Utilisation du diagnostic d'erreurs Exchange Exchange - Comment gerer les logs Microsoft Office Gerer un groupe de licences Microsoft 365 OVHcloud (CSP1) Gerer un groupe de licences Office 365 Revendeurs (CSP2) OVHcloud Utiliser le bureau a distance avec Microsoft 365 apps Zimbra Apercu Premiers pas Premiers pas avec l'offre Zimbra Utiliser le webmail Zimbra FAQ sur la solution Zimbra OVHcloud Configurer une adresse e-mail Zimbra sur un logiciel de messagerie Migrer une adresse e-mail MX Plan vers un compte Zimbra OVHcloud Zimbra - Configurer son compte e-mail sur l'application mobile Zimbra Zimbra - Synchroniser un calendrier CalDAV dans une application Zimbra - Configurer un dossier WebDAV sur votre ordinateur Configuration d'une application e-mail sur votre ordinateur Zimbra Pro - Configurer son compte e-mail via ActiveSync sur Outlook classique pour Windows Zimbra Pro - Configurer son compte e-mail via EWS sur Outlook pour Mac Zimbra Pro - Configurer son compte e-mail via EWS dans Mail sur Mac Configurer une application e-mail sur votre smartphone ou tablette Zimbra Pro - Configurer son compte e-mail via ActiveSync sur Outlook pour iOS Zimbra Pro - Configurer son compte e-mail via ActiveSync sur Mail pour iPhone ou iPad Zimbra Pro - Configurer son compte e-mail via ActiveSync sur Outlook pour Android Zimbra Pro - Configurer son compte e-mail via ActiveSync sur Gmail pour Android Internet Acces Internet Apercu Concepts cles La desserte interne Comprendre le cycle de vie des commandes FTTE et FTTO Premiers pas FAQ solutions Internet OVHcloud Obtenir les identifiants PPPoE Configuration Configuration de votre acces Configurer sa box a partir de l'espace client OVHcloud Modification du profil de synchronisation Comment configurer le Reverse DNS de ma connexion Internet OVHcloud Activer l'adresse IPv6 d'une connexion Internet OVHcloud Gerer votre offre Comment changer mon offre xDSL/Fibre Fin du cuivre - Comment migrer mon offre xDSL vers la Fibre ? Comment demenager mon acces xDSL/Fibre Comment resilier un acces xDSL/Fibre VoIP / Acces Internet - Deroulement d'un RMA Gerer vos options Comment activer mes lignes telephoniques ? (Offres ADSL/VDSL/FTTH) Activer les adresses e-mail incluses dans votre offre FTTH/xDSL Configuration avancee Comment activer le mode bridge sur un modem Zyxel Comment reutiliser le WiFi d'un modem Zyxel avec OverTheBox Activer ou desactiver l'envoi d'e-mails depuis le SMTP OVHcloud Gerer et configurer un bloc IP /29 Comment changer le backend ACS du modem Premiers pas avec l'API Connectivity OVHcloud Configurer un routeur manuellement Diagnostic Redemarrer ou reinitialiser une box OVHcloud Depanner son acces Internet fibre Resoudre une interruption ou des lenteurs de navigation Retablir la synchronisation d'une connexion suite a une coupure Retablir un acces a Internet suite a une coupure complete ou partielle Verifier si son lien xDSL est sature Verifier la stabilite de son acces OVHcloud via les logs radius Activer une alerte de monitoring OverTheBox Apercu Premiers pas Premiers pas avec OverTheBox Comment installer OverTheBox ? FAQ OverTheBox Configuration Gerer votre offre Comment changer mon offre OverTheBox Configuration initiale Comment mettre a jour un appareil OverTheBox ? Comment acceder a distance a une OverTheBox Comment configurer IPv6 sur OverTheBox ? Comment reinitialiser ou restaurer la configuration d'une OverTheBox Comment configurer le pare-feu (firewall) sur OverTheBox ? Comment configurer le reseau local d'une OverTheBox ? Comment configurer une route statique sur OverTheBox ? Comment configurer la qualite de service (QoS) sur OverTheBox ? Comment configurer un lien 4G sur OverTheBox ? Configuration avancee Comment configurer une interface reseau ? Installer l'image OverTheBox sur votre appareil Configurer un ancien appareil OverTheBox v1 (Intel & IT v1) Telephone et Fax VoIP - Presentation de la documentation Premiers pas FAQ VoIP OVHcloud Gerer vos services VoIP Gerer vos groupes de telephonie Renseigner les coordonnees d'une ligne ou d'un numero et les faire paraitre en ligne Administration Valider votre identite pour l'utilisation des services VoIP Valider votre identite pour l'exploitation d'un numero special SVA Gerer les reversements ou les couts de vos numeros speciaux Gestion du depot de garantie et de la limite hors-forfait Effectuer un changement de contacts pour vos groupes de telephonie Comment resilier un service VoIP ou une ligne Fax VoIP / Acces Internet - Deroulement d'un RMA Configuration Lignes telephoniques Ligne SIP - commander, modifier, rattacher ou detacher un telephone OVHcloud Configurer et consulter le repondeur de sa ligne Configurer la presentation de son numero Filtrer et renvoyer ses appels Configurer des plages horaires et des fermetures exceptionnelles sur une ligne Installer et configurer Softcall Gerer un carnet de contacts sur une ligne SIP Creer des numeros abreges Modifier les musiques et sonneries de votre ligne Activer ou desactiver des services depuis le telephone Gerer et utiliser les appels simultanes Configurer les touches programmables de votre telephone OVHcloud Gerer le mode intercom de votre ligne Configurer et utiliser le Click2Call sur une ligne SIP Statistiques sur la QoS des appels Numeros alias Demander et suivre une portabilite de numero Demander et suivre une portabilite de numero belge Choisir et appliquer une configuration pour un numero Configurer une redirection d'appels Configurer une file d'appels Configurer un Serveur Vocal Interactif (SVI) Configurer un Contact Center Solution Creer et gerer des conferences telephoniques POPC Installer le logiciel POPC Prise en main du logiciel POPC IPBX Deployer automatiquement l'IPBX 3CX sur l'offre Public Cloud OVHcloud Asterisk - configuration et utilisation Comment modifier le temps d’enregistrement d’une ligne sur Asterisk 3CX - Configuration et utilisation Freeswitch - configuration et utilisation Couplage telephonie informatique (CTI) Integration CTI de la telephonie OVHcloud aux CRM et ERP - exemple avec SugarCRM Documentation technique CTI Projet communautaire CTI Tutoriels Ligne SIP - Configuration sur un softphone / telephone personnel Enregistrer une ligne SIP OVHcloud sur Zoiper Tutoriel - Utiliser une ligne SIP OVHcloud sur Linphone Securite Securiser sa ligne SIP OVHcloud Modifier le mot de passe d'une ligne SIP Restreindre sa ligne SIP OVHcloud par IP Diagnostic Tutoriel - Diagnostic du reseau local Depanner son telephone OVHcloud Ressources additionnelles Guides d'utilisation de nos precedentes gammes de telephones Utiliser le Cisco 8851 Utiliser le Cisco 7841 Utiliser le telephone Yealink T4X Utiliser le telephone Yealink W56P Utiliser le telephone Yealink CP860 Branchements du C530 IP Utiliser le Gigaset C530IP Depannage C530 IP Branchements SPA112 Adaptateur SPA112 Depannage SPA112 Branchements SPA504G Fonctionnalites SPA504G Depannage SPA504G Branchements IP5000 Depannage IP5000 Fax Apercu Premiers pas FAQ sur la solution Fax OVHcloud Configuration de votre ligne Fax Utiliser son fax physique avec l’offre Plug & Fax Activation du repondeur Fax EcoFax Pro / Plug & Fax Configuration Envoyer et recevoir des fax Envoyer des fax par e-mail Envoyer une campagne de fax depuis l'espace client OVHcloud Envoyer des Fax via l’imprimante virtuelle EcoFax - macOS X Envoyer des Fax via l’imprimante virtuelle EcoFax - Windows Comment resilier un service VoIP ou une ligne Fax SMS SMS Apercu Premiers pas FAQ SMS OVHcloud Ma premiere campagne SMS Time2Chat, la messagerie conversationnelle par SMS pour les entreprises Configuration Envoyer des SMS Envoyer des SMS depuis l'espace client OVHcloud Envoyer des SMS depuis une adresse e-mail Envoyer des SMS avec l’API OVHcloud en PHP Envoyer des SMS avec l’API OVHcloud en Node.js Envoyer des SMS avec l’API OVHcloud en Java Envoyer des SMS avec l’API OVHcloud en C# Envoi de SMS aux Etats-Unis Envoyer des SMS depuis une URL - http2sms Gerer mon offre Gerer les credits SMS et activer la recharge automatique Gerer l’historique des SMS Tout savoir sur les expediteurs SMS Tout savoir sur les utilisateurs SMS Liste de destinataires SMS Gerer mes carnets d’adresses SMS Envoyer des SMS permettant la reponse Utilisation avancee SMS - Verifier la validite des numeros mobiles avec le HLR Lookup API SMS Cookbook Automatiser l'envoi de SMS avec n8n via l'API OVHcloud SMPP Gestion d'un compte SMS SMPP Specifications techniques du SMPP Stockage et sauvegarde Object Storage Apercu Compatible avec S3 Concepts cles Object Storage - Choisir une classe de stockage adaptee a vos besoins Object Storage - Endpoints et geo-disponibilite de l’Object Storage Comparaison des modes de deploiement Object Storage - Presentation des regions 3-AZ / 1-AZ / Local Zones Cold Archive - Presentation Premiers pas Object Storage - Premiers pas Cold Archive - Premiers pas avec Cold Archive Object Storage - Gestion des identites et des acces Configuration Object Storage - Premiers pas avec la gestion de versions Object Storage - Gestion intelligente du stockage avec des regles lifecycle Object Storage - Maitrisez la replication asynchrone sur vos buckets Object Storage - Server Access Logging Object Storage - Mettre en place CORS sur Object Storage Object Storage - Bucket ACL Object Storage - Heberger un site statique dans un bucket Object Storage Object Storage - Activer HTTPS sur un site web statique en utilisant un domaine personnalise Object Storage - Comment connecter mon bucket Object Storage avec d'autres ressources dans un reseau prive vRack Migration Object Storage - Comment migrer d'un fournisseur de stockage objet compatible S3 vers OVHcloud Object Storage Object Storage - Comment migrer un Object Storage Swift OVHcloud vers un Object Storage OVHcloud compatible S3 Tutoriels Object Storage - Utiliser Object Storage avec Rclone Object Storage - Utiliser Object Storage avec S3cmd Object Storage - Utiliser Object Storage avec WinSCP Object Storage - Utiliser Object Storage avec Veeam Object Storage - Utiliser Object Storage avec Nextcloud Object Storage - Utiliser Object Storage avec Owncloud Object Storage - Utiliser Object Storage avec Cohesity NetBackup Object Storage - Utiliser Object Storage avec Pure Storage Flashblade Object Storage - Gerer un bucket Object Storage avec Terraform Object Storage – Comment partager un objet ou fichier en externe Securite Object Storage - Chiffrez vos objets cote serveur avec SSE-C ou SSE-OMK Object Storage - Gestion de l'immuabilite des objets avec Object Lock (WORM) Object Storage - Gestion des identites et des acces Diagnostic et depannage Object Storage - FAQ Cold Archive - FAQ Object Storage - Specifications pour Local Zones Object Storage - Conformite Object Storage - Limites techniques Object Storage - Optimiser les performances Object Storage - Optimisez l'envoi de vos fichiers vers Object Storage Ressources additionnelles Object Storage - Partage des responsabilites Cold Storage - Shared Responsibility for archive and restoration services (EN) Object Storage - Compatibilite avec les applications tierces Swift Premiers pas Object Storage Swift - Creation de conteneur Object Storage Object Storage Swift - "Debuter avec l’API Swift" Object Storage Swift - Premiers pas avec l'API Swift S3 Configuration Object Storage Swift - Lier un conteneur a un nom de domaine Object Storage Swift - Synchroniser des conteneurs d’objets Object Storage Swift - Configurer la suppression automatique des objets Object Storage Swift - Mettre en place CORS sur Object Storage Cloud Archive Swift - Gerer ses archives depuis un client SFTP/SCP Cloud Archive Swift - Creation de conteneur Public Cloud Archive Cloud Archive Swift - Degeler vos donnees stockees sur Public Cloud Archive Cloud Archive Swift - Mettre en place une Access Control List sur Public Cloud Archive Migration Object Storage - Comment migrer un Object Storage Swift OVHcloud vers un Object Storage OVHcloud compatible S3 Tutoriels Object Storage Swift - Synchroniser un NAS Synology avec l’Object Storage Object Storage Swift - Utiliser S3QL pour monter un conteneur Object Storage Object Storage Swift - Utiliser l'Object Storage avec CyberDuck Object Storage Swift - Utiliser l'Object Storage avec rClone Object Storage Swift - Configure ownCloud with Object Storage Cloud Archive Swift - Gerer ses archives depuis un client Swift (Cyberduck) Cloud Archive Swift - Gestion de vos archives avec Rsync Securite Object Storage Swift - Mettre en place une Access Control List sur Object Storage Diagnostic et depannage Object Storage Swift - Compatibilite des API REST S3/Swift Object Storage Swift - Capacites et limitations Cloud Archive Swift - Capacites et limitations Object Storage Swift - Methode optimisee pour le telechargement de fichiers vers Object Storage Ressources additionnelles Object Storage Swift - Memo de commandes Curl Object Storage Swift - Memo de commandes Swift Cloud Archive Swift - Memo de commandes Curl Cloud Archive Swift - Memo de commandes Swift File Storage Apercu Enterprise File Storage Apercu Concepts cles Enterprise File Storage - Concepts generaux Enterprise File Storage - Concepts de performances Enterprise File Storage - FAQ Premiers pas Enterprise File Storage - Gestion depuis l'espace client OVHcloud Enterprise File Storage - Gestion avec Terraform Enterprise File Storage - Premiers pas avec les API Enterprise File Storage - Premiers pas avec Trident CSI Configuration Enterprise File Storage - Gerez vos politiques de snapshots Enterprise File Storage - Conserver un snapshot automatique Enterprise File Storage - Restaurer un volume a l'aide de l'API de restauration de snapshots Enterprise File Storage - Gerer vos volumes Enterprise File Storage - Gerer les ACL d'un volume Enterprise File Storage - Gerer les snapshots d'un volume Enterprise File Storage - Particularites concernant certains clients NFS Enterprise File Storage - Connecter une instance Public Cloud a un volume EFS via le reseau prive vRack Enterprise File Storage - Configuration du reseau prive Migration Enterprise File Storage - Cloner un volume Ressources additionnelles File Storage services - Responsibility model (EN) Politique de reversibilite du Produit File Storage NAS-HA Apercu Concepts cles Les questions frequentes concernant le service NAS-HA Premiers pas Premiers pas avec un NAS-HA NAS-HA - Premiers pas avec les API Configuration Montage d'un NAS-HA via partage NFS Monter un NAS-HA via un partage CIFS NAS-HA - Gestion des ACL via API NAS-HA - Gestion des partitions par API NAS-HA - Gestion des snapshots via API Migration Migration de donnees d'un NAS-HA vers un autre via NFS Ressources additionnelles Politique de reversibilite du Produit File Storage File Storage services - Responsibility model (EN) Public Cloud File Storage Key concepts Premiers pas File Storage Service - Premiers pas (beta) Block Storage Apercu Block volume Concepts cles Utilisation correcte et limitations du stockage Classic Multi-Attach dans les regions 3AZ Premiers pas Creer et configurer un disque supplementaire sur une instance Creer une sauvegarde d'un volume Creer un snapshot d'un volume Configuration Creer un volume a partir d'une sauvegarde Augmenter la taille d’un disque supplementaire Tester la vitesse des disques Migration Migrer un volume Block Storage vers un volume chiffre LUKS Modifier un Volume Block Storage Ressources additionnelles Public Cloud Block Storage - Partage des responsabilites Cloud Disk Array Concepts cles FAQ Premiers pas Cloud Disk Array - Comment creer des utilisateurs Cloud Disk Array - Comment creer un pool Cloud Disk Array - Comment creer une ACL IP Configuration Modifier les droits des utilisateurs CephFS distributed filesystem Comment augmenter la capacite d’un Cloud Disk Array (CDA) via l’API OVHcloud Acceder au cluster en utilisant le client rbd Tutoriels Utiliser Ceph avec Proxmox (EN) Ressources additionnelles Cluster status Storage Benchmarking Backup et Plan de Reprise d'Activite Backup Agent Concepts cles Backup Agent - Presentation de l'offre Backup Agent - Fonctionnement du Vault Premiers pas Backup Agent - Comment configurer votre premiere sauvegarde Backup Agent - Gerer vos sauvegardes et vos restaurations Backup Agent - Se connecter a la VSPC Diagnostic et depannage Backup Agent - Guide de diagnostic et depannage Backup Agent - Restaurer un serveur Bare Metal avec Veeam Backup Agent Ressources additionnelles Backup Agent - Restrictions connues Backup Agent - Facturation Backup Agent - Mise a jour du service Backup Agent - Procedure de suppression Veeam Enterprise Plus Premiers pas Installer Veeam Backup & Replication Configuration Preparer une sauvegarde de serveur Bare Metal avec Veeam Enterprise Sauvegarder un serveur Bare Metal Linux avec Veeam Enterprise Sauvegarder un serveur Bare Metal Windows via Veeam Agent pour Windows Restaurer un serveur Bare Metal avec Veeam Enterprise Securite Chiffrement des taches de sauvegarde avec Veeam et OKMS Managed Veeam for Public VCF aaS Premiers pas Public VCF as-a-Service - Sauvegarde avec Veeam Data Platform HYCU for OVHcloud Premiers pas Configurer HYCU Backup Managed Kubernetes - Data Protection Tutoriels Backup and Restore OVHcloud Managed Kubernetes Cluster, Namespace and Applications using TrilioVault for Kubernetes Backing-up an OVHcloud Managed Kubernetes cluster using CloudCasa Backing up and restoring your Persistent Volume with Volume Snapshots on OVHcloud Managed Kubernetes Backing-up an OVHcloud Managed Kubernetes cluster using Velero Backing-up Persistent Volumes using Stash Reseau Additional IP Concepts cles Concepts - Primary IP et Additional IP Configuration Deplacer une Additional IP Configurer un bloc Additional IP dans le vRack Configurer un bloc Additional IPv6 dans un vRack Guides specifiques aux produits Serveurs dedies Configurer le reseau sur Proxmox VE sur les gammes High Grade, Scale & Advance Configurer des Additional IP en mode bridge sur vos machines virtuelles Tutoriel - Configurer le mode bridge sur pfSense Configurer son adresse IP en alias Configurer le reseau sur Windows Server avec Hyper-V Assigner une adresse MAC virtuelle a une Additional IP Utiliser Hyper-V avec des adresses Additional IP sur un vRack Private Cloud heberge Ajouter une adresse IP publique a une nouvelle VM Ajout de bloc IP Load Balancer Comment router une Additional IP Managed Bare Metal Ajout de bloc IP Public Cloud Concepts - Additional IP ou Floating IP Configurer une Additional IP Acheter une Additional IP Basculer une Additional IP Importer une Additional IP Serveurs Prives Virtuels Configurer une adresse IP en alias Depannage Comment retirer une adresse IP d'une liste d'adresses IP bloquees Resilier un service Additional IP Bring Your Own IP Utiliser la fonctionnalite Bring Your Own IP Service BGP Configuration du service BGP Content Delivery Network (CDN) Infrastructure Premiere configuration d'un nom de domaine Fonctionnement du quota sur le CDN Fonctionnement du certificat SSL sur le CDN Liste des adresses IP a autoriser pour votre CDN Infrastructure Load Balancer Apercu Concepts cles Presentation du service OVHcloud Load Balancer OVHcloud Load Balancer FAQ Premiers pas Gestion du service OVHcloud Load Balancer via l'espace client Commande d'un certificat SSL gratuit Fonctionnalites principales de l'API Load Balancer Transfert des logs (Log Forwarding) TCP / HTTP / HTTPS du Load Balancer OVHcloud Modes de repartition Configuration Infrastructure Comment router une Additional IP Configuration d'un vRack sur le load balancer Configurer le Load Balancer OVHcloud en plusieurs zones Traffic Configurer HTTP/2 sur un service OVHcloud Load Balancer Comment configurer le SMTP sur un service Load Balancer Configuration d'un service OVHcloud Load Balancer - Les en-tetes HTTP Configuration d'un service OVHcloud Load Balancer avec le proxyProtocol Configuration des sondes sur un service OVHcloud Load Balancer Configuration d'un service OVHcloud Load Balancer avec les redirections Configuration d'un service OVHcloud Load Balancer avec les routes HTTP Suivi des connexions sur l’OVHcloud Load Balancer Deploiements Configuration d'un service OVHcloud Load Balancer avec HTTP/HTTPS Deploiement d'une infrastructure blue-green Ressources supplementaires Details des fonctionnalites API Depannage Recuperation de l'etat de sante des serveurs Securite reseau Activer et configurer le Edge Network Firewall Proteger un serveur Game avec le firewall applicatif Monitoring des attaques DDoS avec le Network Security Dashboard OVHcloud Connect Apercu Concepts cles Presentation des concepts Mode Layer 2 (L2) Mode Layer 3 (L3) Premiers pas Mise en service de OVHcloud Connect Direct depuis l’espace client OVHcloud Mise en service de OVHcloud Connect Provider depuis l’espace client OVHcloud Comment lancer un diagnostic OVHcloud Connect depuis votre espace client Transfert des logs (Log Forwarding) pour OVHcloud Connect FAQ OVHcloud Connect Configuration Configuration de OVHcloud Connect depuis les APIv6 OVHcloud Depannage Resoudre les erreurs frequentes lors de la mise en service de OVHcloud Connect Ressources supplementaires Capacites et limites techniques SecNumCloud Presentation des concepts SPN - Presentation du concept VPN-SPN - Presentation du concept FAQ SecNumCloud Connectivity Reseau prive vRack Apercu Configuration Configurer un bloc Additional IP dans le vRack Configurer un bloc Additional IPv6 dans un vRack Configuration des trames Jumbo dans le vRack Creer plusieurs VLAN dans le vRack Modifier l'annonce d'un bloc IP dans le vRack Augmenter ou diminuer la bande passante privee (vRack) d'un serveur dedie via l'API OVHcloud Guides specifiques aux produits Serveurs dedies Configurer le reseau sur Proxmox VE sur les gammes High Grade, Scale & Advance Configurer le vRack sur vos serveurs dedies Configurer le reseau sur Windows Server avec Hyper-V Configurer le vRack entre Public Cloud et un serveur dedie Utiliser Hyper-V avec des adresses Additional IP sur un vRack Comment configurer votre NIC pour la fonctionnalite OVHcloud Link Aggregation sur Debian 9 a 11 Hosted Private Cloud Nutanix on OVHcloud Interconnexion de clusters au travers du vRack Modifier le vRack d'un cluster Nutanix VMware on OVHcloud Creation de VLANs Utiliser le Hosted Private Cloud au sein d’un vRack Compatibilite du vRack avec Hosted Private Cloud Load Balancer Configuration d'un vRack sur le load balancer Managed Bare Metal Utiliser votre infrastructure Managed Bare Metal au sein d’un vRack Creation de VLAN Public Cloud Containers & Orchestration Using vRack Private Network Working with vRack example - Communicating between different private networks Using vRack - Communicating between different private networks Working with vRack example - Managed Kubernetes and Public Cloud instances Public Cloud Network Services Configuration du vRack Public Cloud Configuration du vRack Public Cloud depuis les APIv6 OVHcloud Configuration du vRack Public Cloud a l'aide de l'OpenStack CLI Configurer le vRack entre Public Cloud et un serveur dedie Configurer un bloc IP dans un vRack sur une instance Public Cloud Services vRack vRack Services - Exposer un service manage sur votre vRack Enterprise File Storage - Configuration du reseau prive Enterprise File Storage - Connecter une instance Public Cloud a un volume EFS via le reseau prive vRack Depannage Comment analyser votre reseau via les outils OVHcloud Comment savoir si mon adresse IP est geree par OVHcloud ? Gerer & Exploiter API Premiers pas Premiers pas avec les API OVHcloud Exploration des API OVHcloud APIv6 API v2 OVHcloud - Principes de fonctionnement Gestion des services Gerer le paiement et la facturation de vos services OVHcloud Creation d'un sous compte OVHcloud et d'un utilisateur via l'API OVH Gerer les comptes de service OVHcloud via l'API Comment utiliser les comptes de service pour se connecter aux API de OVHcloud Generation des logs des comptes OVHcloud avec Logs Data Platform Gestion des utilisateurs et de la federation Premiers pas Presentation des identites pouvant interagir au sein d'un compte OVHcloud Creer et gerer des utilisateurs locaux sur un compte OVHcloud Gerer les comptes de service OVHcloud via l'API Federation d'identites Activer les connexions Active Directory Federation Services (AD FS) SSO avec votre compte OVHcloud Activer les connexions SSO de Google Workspace avec votre compte OVHcloud Activer les connexions Entra ID SSO avec votre compte OVHcloud Activer les connexions Okta SSO avec votre compte OVHcloud IAM Comment utiliser les politiques IAM via l’API OVHcloud Comment utiliser les politiques IAM depuis votre espace client Liste des groupes de permissions d'OVHcloud Comment utiliser les tags sur vos ressources Comment creer une politique IAM pour permettre a un utilisateur de se connecter a l'espace client OVHcloud Comment utiliser les politiques IAM avec vSphere Comment utiliser les comptes de service pour se connecter a OpenStack Comment analyser les resultats de politiques IAM Generation des logs des comptes OVHcloud avec Logs Data Platform Terraform Using Terraform with OVHcloud (EN) CLI Premiers pas avec la CLI OVHcloud Observabilite Logs Data Platform Premiers pas Introduction to Logs Data Platform Quick start for Logs Data Platform Logs Data Platform - Responsibility model Reversibility Policy for the Managed Log Manager product OVHcloud Service Logs Generation des logs des comptes OVHcloud avec Logs Data Platform Logs Data Platform - Collecter les logs VMware on OVHcloud Transfert des logs (Logs Forwarding) TCP / HTTP / HTTPS du Load Balancer Public Cloud Mettre en place le transfert de logs des bases de donnees Public Cloud (EN) Web Cloud Databases - Comment gerer les logs ? Managed Kubernetes Service Audit Logs Forwarding Transferer les logs du KMS OVHcloud a Logs Data Platform Transfert des logs (Log Forwarding) pour OVHcloud Connect IAM Ingestion de vos logs Field naming convention Mutualized Inputs Dedicated input - Logstash Mutualized input - OpenSearch API Pushing logs with a SDK - Python 2.x - Djehouty Pushing logs with a SDK - Python 3.x - logging-ldp Pushing logs with a logging library - Rust - gelf_logger and log4rs-gelf Pushing logs with a forwarder - Filebeat (Linux) Pushing logs with a forwarder - Syslog-ng 3.12.1+ (Linux) Pushing logs with a forwarder - NXLog (Windows) Pushing logs from software - Apache Pushing logs from a Kubernetes cluster to Logs Data Platform using Fluent Bit Generation des logs des comptes OVHcloud avec Logs Data Platform SAP logs on OVHcloud Logs Data Platform - Configuration Logs Data Platform - Collecter les logs VMware on OVHcloud Visualisation, requete et exploitation de vos logs Exposing your logs to third-party tools via the OpenSearch API Using OpenSearch Dashboards with Logs Data Platform Using Grafana with Logs Data Platform CLI - ldp-tail, a tool to follow your logs in real-time CLI - bonfire, querying graylog from a CLI Alerting - Configuring alerts on your streams Alerting - Using ElastAlert 2 with Logs Data Platform Index OpenSearch as-a-service OpenSearch Index as a Service Securite et conformite Archiving your logs - Cold-storage Encrypting your logs archives Securing Logs Data Platform's APIs with tokens Cas d'usage Tracking slow MySQL queries with Logs Data Platform Supervising your HAProxy deployment with Logs Data Platform Pushing logs from a Kubernetes cluster to Logs Data Platform using Fluent Bit Handling roles and permissions when IAM is not enabled SAP logs on OVHcloud Logs Data Platform - Configuration KMS Premiers pas avec OVHcloud Key Management Service (KMS) Utiliser votre OVHcloud Key Management Service (KMS) Generer un certificat d'acces OKMS OKMS - Apercu de l'architecture OKMS - Partage des responsabilites Comment connecter un produit compatible en utilisant le protocole KMIP Comment chiffrer ETCD de Kubernetes avec OVHcloud KMS Transferer les logs du KMS OVHcloud a Logs Data Platform Secret Manager Utiliser le Secret Manager dans l'espace client OVHcloud Utiliser le Secret Manager avec l'API REST Utiliser le Secret Manager avec l'API compatible Hashicorp Vault KV2 Generer un certificat d'acces OKMS OKMS - Apercu de l'architecture OKMS - Partage des responsabilites Comment utiliser Kubernetes External Secrets Operator avec Secret Manager Gestion de compte Informations du compte Apercu Premiers pas Creer un compte OVHcloud Se connecter a l'espace client OVHcloud Modifier le mot de passe de votre compte Securiser mon compte OVHcloud et gerer mes informations personnelles Gerer les contacts de ses services Gerer les communications liees aux services OVHcloud Presentation de la nouvelle navigation dans l'espace client OVHcloud Partager des fichiers avec l'outil Plik Creation et gestion des utilisateurs Presentation des identites pouvant interagir au sein d'un compte OVHcloud Creer et gerer des utilisateurs locaux sur un compte OVHcloud Comment utiliser les politiques IAM via l’API OVHcloud Comment utiliser les politiques IAM depuis votre espace client Generation des logs des comptes OVHcloud avec Logs Data Platform Comment analyser les resultats de politiques IAM Liste des groupes de permissions d'OVHcloud Comment creer une politique IAM pour permettre a un utilisateur de se connecter a l'espace client OVHcloud Gerer les comptes de service OVHcloud via l'API Activer les connexions Active Directory Federation Services (AD FS) SSO avec votre compte OVHcloud Activer les connexions SSO de Google Workspace avec votre compte OVHcloud Activer les connexions Entra ID SSO avec votre compte OVHcloud Activer les connexions Okta SSO avec votre compte OVHcloud Comment utiliser les politiques IAM avec vSphere Comment utiliser les comptes de service pour se connecter a OpenStack Comment utiliser les comptes de service pour se connecter aux API de OVHcloud Comment ajouter une cle SSH dans le panneau de controle OVHcloud (generated by AI) FAQ FAQ sur la gestion du compte OVHcloud FAQ sur le support OVHcloud Securite et conformite Securiser son compte OVHcloud avec la double authentification Restreindre l'acces par IP a votre espace client OVHcloud Phishing - Comment reconnaitre des e-mails frauduleux ? Politique de securite du systeme d'information (PSSI) Specifications de securite du service Serveurs Dedies Specifications de securite du service VMware on OVHcloud Specifications de securite du service Block Storage Specifications de securite du service VMware on OVHcloud sous la qualification SecNumCloud OVHcloud products ISO27k certifications OVHcloud products HDS certification Representation des garanties de la certification d'Hebergement de Donnees de Sante (HDS) sur les produits OVHcloud Gerer la facturation, les paiements et les services Renouveler un service Comment renouveler mes services OVHcloud Comment renouveler mon nom de domaine OVHcloud Renouveler mes services via l'API OVHcloud Gestion de vos services Les bonnes pratiques pour la gestion de vos services et de votre compte OVHcloud Comment obtenir l'empreinte carbone de vos services OVHcloud Facturation et paiements Gerer mes commandes OVHcloud Gerer mes moyens de paiement Gerer mes factures OVHcloud Notion de Numero de commande ou Purchase Order (PO) Payer une commande en tant qu’administration publique Hosted Private Cloud Facturation Hosted Private Cloud AI Notebooks AI Notebooks - Facturation et cycle de vie (EN) Public Cloud Ajouter du credit cloud Instances Public Cloud - Passer d'une facturation horaire a mensuelle Resiliation d’un service Comment resilier mes services OVHcloud Hosted Private Cloud Comment resilier votre offre Private Cloud RGPD - Comment supprimer immediatement vos services OVHcloud FAQ FAQ sur la facturation et le paiement FAQ sur le suivi de commande OVHcloud Comment savoir si mon adresse IP est geree par OVHcloud ? API Commander un projet Public Cloud via l'API OVHcloud Reversibilite Politiques de reversibilite Politique generale de reversibilite Politique de reversibilite du produit Managed Web Hosting Politique de reversibilite Public Cloud Politique de reversibilite du produit Managed Dedicated Cloud Politique de reversibilite du produit Managed Dedicated Cloud - SecNumCloud Politique de reversibilite des Serveurs Dedies Politique de reversibilite du produit Serveurs Dedies 3-AZ Politique de reversibilite du produit Managed Document Database Politique de reversibilite du produit Managed Relational Database Politique de reversibilite du produit Managed Message Broker Politique de reversibilite du produit Managed Data Visualization Politique de reversibilite du Produit File Storage Politique de reversibilite du produit Cold Storage Politique de reversibilite du produit Object Storage Politique de reversibilite du produit Object Storage 3AZ Politique de reversibilite du produit Orchestration Politique de reversibilite du produit Managed OCI artifact Registry Reversibility Policy for the Managed Log Manager product Politique de reversibilite du produit Unified Data Platform AI Notebooks - Politique de reversibilite du produit Notebook Interface Politique de reversibilite du produit AI Managed Container Politique de reversibilite du produit Managed Search Engine Software Platform Politique de reversibilite du produit Managed Mutualized Virtualization Politique de reversibilite du produit Dedicated PoD-SecNumCloud Politique de reversibilite du produit Managed Database System for Web Hosting Politique de reversibilite du produit Managed In-Memory Database Partage de responsabilite Serveurs Dedies - Partage de responsabilites File Storage services - Responsibility model (EN) Cold Storage - Shared Responsibility for archive and restoration services (EN) Partage de responsabilite sur le service Hosted Private Cloud by VMware Partage de responsabilite sur le service Hosted Private Cloud by VMware sous la qualification SecNumCloud Partage de responsabilite - Nutanix on OVHcloud Partage de responsabilite sur les solutions SAP on OVHcloud Logs Data Platform - Responsibility model Public Cloud Instances - Partage des responsabilites Partage des responsabilites des bases de donnees Public Cloud (EN) Public Cloud Block Storage - Partage des responsabilites Object Storage - Partage des responsabilites Partage de responsabilite sur le service OVHcloud managed Kubernetes Managed Private Registry - Responsibility model (EN) Partage de responsabilite du produit Serveur de messagerie manage sur une infrastructure mutualisee Partage de responsabilite du produit infrastructure de messagerie dediee managee OKMS - Partage des responsabilites Startup Program Apercu Informations generales Comment souscrire a notre newsletter Startup Program Comment optimiser votre candidature au Startup Program Comment signer votre contrat du Startup Program Support & Communication Comment contacter un responsable du Startup Program et/ou demander une consultation technique Credits & Facturation Comment consulter vos credits du Startup Program Comment payer une facture avec mes credits du Startup Program Quels produits sont disponibles avec les credits du Startup Program ? Ressources techniques Comment augmenter les quotas Public Cloud pour un membre du Startup Program Securite & identite IAM Apercu Concepts cles Premiers pas Configuration Gerer les politiques (UI) Gerer les politiques (API) Groupes de permissions Comptes de service SSO / SAML Apercu Concepts cles Premiers pas Configuration Connexion avec ADFS Connexion avec Azure AD Connexion avec Google Workspace Connexion avec Okta Certifications de securite Certification HDS Politique de securite Specifications serveurs dedies Specifications Block Storage Specifications Private Cloud VMware Specifications Private Cloud SNC Home › Web Cloud › Telephone et Fax › Voip › Branchements IP5000 Branchements IP5000 Copier le Markdown Demander a l'IA Sommaire : Niveau : Debutant Branchement sans alimentation La pieuvre IP5000 peut fonctionner sans alimentation si vous possedez un switch POE. Il suffit pour cela de brancher le cable RJ45 sur le port LAN de la pieuvre. Une fois branchee, l'ecran de la pieuvre doit s'allumer. Branchement avec alimentation Vous pouvez acheter l'alimentation pour la pieuvre en accessoire. Si c'est le cas, le branchement est alors different : Raccordez votre cable Ethernet sur le port LAN de votre pieuvre. Raccordez l'extremite de votre cable Ethernet sur le port RJ45 de l'alimentation. Branchez le cable Ethernet male de l'alimentation sur votre switch ou routeur. Branchez le connecteur de l'alimentation sur le cable Ethernet de l'alimentation. Branchez la prise electrique sur circuit. Aller plus loin Echangez avec notre communaute d'utilisateurs . Cette page vous a-t-elle aide ? Oui Non Modifier cette page Derniere mise a jour : 31/03/2026 15:56:38 Page precedente Depannage SPA504G Page suivante Depannage IP5000 Sur cette page Branchement sans alimentation Branchement avec alimentation Aller plus loin Modifier cette page 🚀 Donnez votre avis sur la nouvelle documentation Votre retour aide nos equipes a ameliorer votre experience. 2 minutes · Anonyme Non merci Repondre